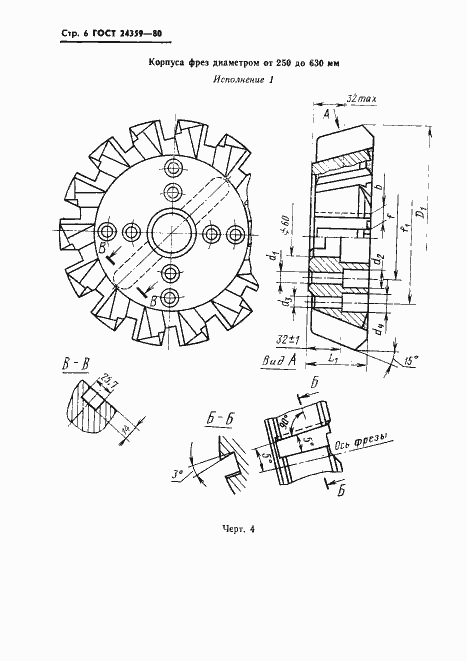
ГОСТ 24359-80 Фрезы торцовые насадные со вставными ножами, оснащенными пластинами из твердого сплава. Конструкция и размеры
ГОСТ
Скачать ГОСТ в PDF или DOC бесплатно
Основная информация
Обозначение:
ГОСТ 24359-80
Статус:
Действует
Тип:
ГОСТ
Название русское:
Фрезы торцовые насадные со вставными ножами, оснащенными пластинами из твердого сплава. Конструкция и размеры
Название английское:
Sheel and mills with inserted carbide teeth. Construction and dimensions
Даты и сроки
Дата издания:
12-01-85
Дата введения в действие:
01-01-82
Дата завершения срока действия:
-
Применение и описание
Область и условия применения:
Настоящий стандарт распространяется на фрезы торцовые насадные, закрепляемые на оправках или на концах шпинделей, фрезерных станков
Связи и замены
Заменяющий:
-
Взамен в части:
ГОСТ 8529-69 в части разд. 1
Изменения и переиздания
Список изменений:
№1 от (рег. ) «Срок действия продлен» №2 от (рег. ) «Срок действия продлен» №3 от (рег. ) «Срок действия продлен»
Описание стандарта
ГОСТ 24359-80 Фрезы торцовые насадные со вставными ножами, оснащенными пластинами из твердого сплава. Конструкция и размеры
Страницы стандарта

















