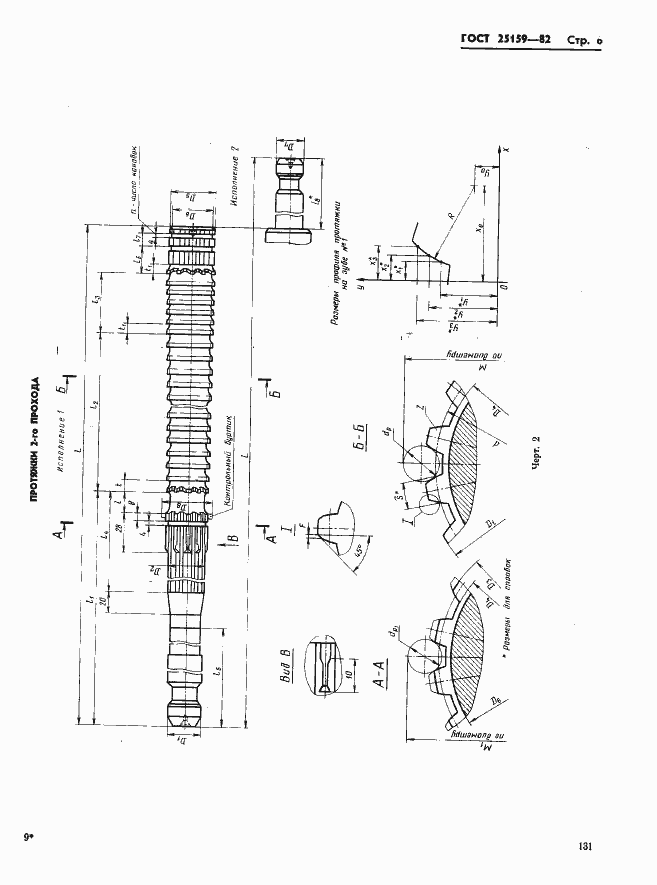
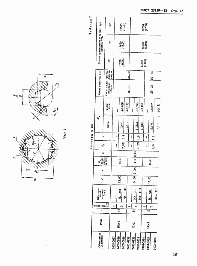
ГОСТ 25159-82 Протяжки для шлицевых отверстий с эвольвентным профилем диаметром от 15 до 90 мм, модулем от 1 до 2,5 мм с центрированием по наружному диаметру двухпроходные. Конструкция и размеры
ГОСТ
Скачать ГОСТ в PDF или DOC бесплатно
Основная информация
Обозначение:
ГОСТ 25159-82
Статус:
Действует
Тип:
ГОСТ
Название русское:
Протяжки для шлицевых отверстий с эвольвентным профилем диаметром от 15 до 90 мм, модулем от 1 до 2,5 мм с центрированием по наружному диаметру двухпроходные. Конструкция и размеры
Название английское:
Broaches with diameter frome 15 to 90 mm for slitting holes with involute profile and centring at outside diameter with modul frome 1 to 2,5 mm, double driven. Construction and dimensions
Даты и сроки
Дата издания:
06-09-82
Дата введения в действие:
01-01-84
Дата завершения срока действия:
-
Применение и описание
Область и условия применения:
Настоящий стандарт распространяется на двухпроходные протяжки универсального назначения диаметром от 15 до 90 мм, модулем от 1 до 2,5 мм, предназначенные для обработки шлицевых втулок с эвольвентным профилем с центрированием по наружному диаметру
Связи и замены
Заменяющий:
-
Изменения и переиздания
Список изменений:
№1 от (рег. ) «Срок действия продлен» №2 от (рег. ) «Срок действия продлен»
Описание стандарта
ГОСТ 25159-82 Протяжки для шлицевых отверстий с эвольвентным профилем диаметром от 15 до 90 мм, модулем от 1 до 2,5 мм с центрированием по наружному диаметру двухпроходные. Конструкция и размеры
Страницы стандарта
















