ГОСТ 25557-2006 Конусы инструментальные. Основные размеры
ГОСТ
Скачать ГОСТ в PDF или DOC бесплатно
Основная информация
Обозначение:
ГОСТ 25557-2006
Статус:
Заменен
Тип:
ГОСТ
Название русское:
Конусы инструментальные. Основные размеры
Название английское:
Machine tools tapers. Basic dimensions
Даты и сроки
Дата регистрации:
06-24-06
Дата издания:
12-17-07
Дата введения в действие:
01-01-08
Дата завершения срока действия:
01-01-18
Применение и описание
Область и условия применения:
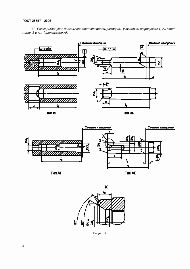
Настоящий стандарт устанавливает размеры наружных и внутренних конусов инструментальных хвостовиков трех категорий: общего применения; малые; большие. Настоящий стандарт также определяет размеры пазов канавок и отверстий, необходимых для конструирования конусов, в случае подачи смазочно-охлаждающей жидкости через инструмент
Связи и замены
Заменяющий:
ГОСТ 25557-2016
Взамен:
ГОСТ 25557-82
Изменения и переиздания
Список изменений:
№0 от (рег. ) «Дата введения перенесена»
Описание стандарта
ГОСТ 25557-2006 Конусы инструментальные. Основные размеры
Страницы стандарта













Приложение №1: Поправка к ГОСТ 25557-2006 Обозначение: Поправка к ГОСТ 25557-2006 Дата введения в действие: 01.05.2008
