ГОСТ 26258-87 Цековки цилиндрические для обработки опорных поверхностей под крепежные детали. Технические условия
ГОСТ
Скачать ГОСТ в PDF или DOC бесплатно
Основная информация
Обозначение:
ГОСТ 26258-87
Статус:
Действует
Тип:
ГОСТ
Название русское:
Цековки цилиндрические для обработки опорных поверхностей под крепежные детали. Технические условия
Название английское:
Counterbores desighed for working bearing surfaces under fastenings. Specifications
Даты и сроки
Дата издания:
02-05-88
Дата введения в действие:
01-01-89
Дата завершения срока действия:
-
Применение и описание
Область и условия применения:
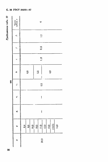
Настоящий стандарт распространяется на цилиндрические цековки, предназначенные для обработки опорных поверхностей под крепежные детали, кроме цековок под увеличенные шайбы для обработки опорных поверхностей диаметром свыше 61 мм и выступающие опорные поверхности диаметром до 15 мм
Связи и замены
Заменяющий:
-
Взамен:
ГОСТ 26258-84
Описание стандарта
ГОСТ 26258-87 Цековки цилиндрические для обработки опорных поверхностей под крепежные детали. Технические условия
Страницы стандарта













































