ГОСТ 26611-85 Резцы токарные проходные, подрезные и копировальные с креплением сменных пластин прихватом сверху. Конструкция и размеры
ГОСТ
Скачать ГОСТ в PDF или DOC бесплатно
Основная информация
Обозначение:
ГОСТ 26611-85
Статус:
Действует
Тип:
ГОСТ
Название русское:
Резцы токарные проходные, подрезные и копировальные с креплением сменных пластин прихватом сверху. Конструкция и размеры
Название английское:
Straigh luming undercutting and coping tool holders with clamped changeable inserts pressed from the top. Desing and dimensions
Даты и сроки
Дата издания:
12-01-03
Дата введения в действие:
06-30-86
Дата завершения срока действия:
-
Применение и описание
Область и условия применения:
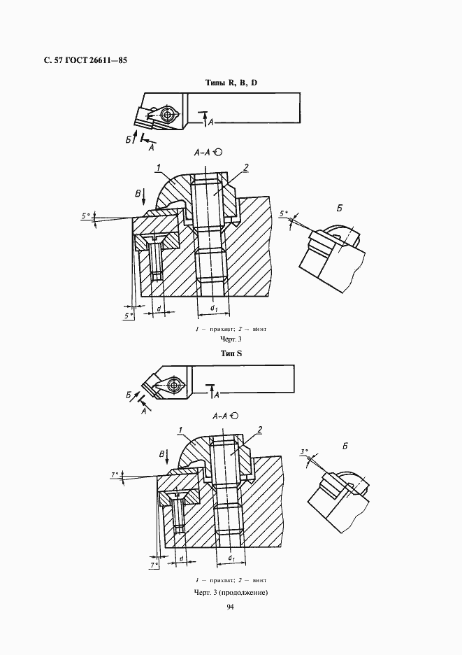
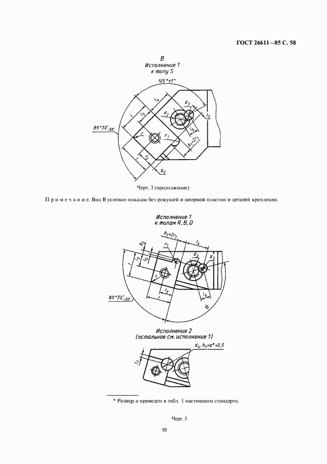
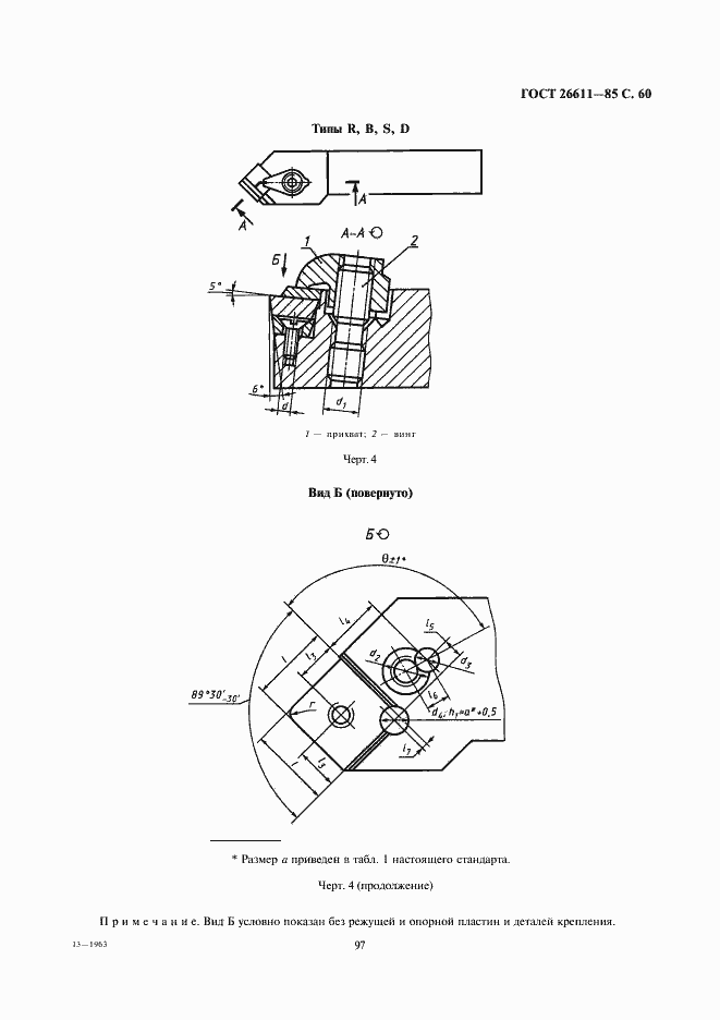
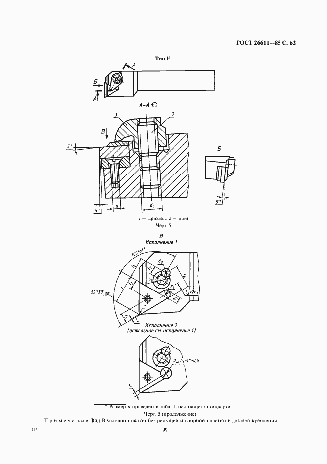
Настоящий стандарт распространяется на токарные резцы с механическим креплением сменных многогранных пластин, предназначенные для обработки наружных поверхностей и изготовляемые для нужд народного хозяйства и экспорта
Связи и замены
Заменяющий:
-
Изменения и переиздания
Список изменений:
№1 от (рег. ) «Срок действия продлен» №2 от (рег. ) «Поправка»
Описание стандарта
ГОСТ 26611-85 Резцы токарные проходные, подрезные и копировальные с креплением сменных пластин прихватом сверху. Конструкция и размеры
Страницы стандарта




































































