ГОСТ 28527-90 Фрезы дисковые трехсторонние. Типы и размеры
ГОСТ
Скачать ГОСТ в PDF или DOC бесплатно
Основная информация
Обозначение:
ГОСТ 28527-90
Статус:
Действует
Тип:
ГОСТ
Название русское:
Фрезы дисковые трехсторонние. Типы и размеры
Название английское:
Disk-type side milling cutters. Types and dimensions
Даты и сроки
Дата издания:
01-01-08
Дата введения в действие:
01-01-91
Дата завершения срока действия:
-
Применение и описание
Область и условия применения:
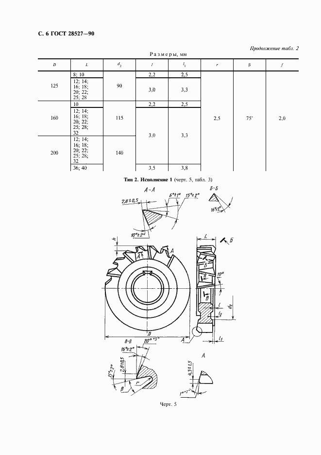
Настоящий стандарт распространяется на дисковые трехсторонние фрезы из быстрорежущей стали с прямыми и разнонаправленными зубьями диаметром от 50 до 200 мм, предназначенные для обработки пазов общего назначения и шпоночных пазов с предельными отклонениями по H9, P9, N9 в изделиях их конструкционных сталей и чугунов
Связи и замены
Заменяющий:
-
Взамен:
ГОСТ 3755-78;ГОСТ 9474-73
Описание стандарта
ГОСТ 28527-90 Фрезы дисковые трехсторонние. Типы и размеры
Страницы стандарта










