ГОСТ 28762-90 Пластины режущие сменные из сверхтвердых материалов. Технические условия
ГОСТ
Скачать ГОСТ в PDF или DOC бесплатно
Основная информация
Обозначение:
ГОСТ 28762-90
Статус:
Действует
Тип:
ГОСТ
Название русское:
Пластины режущие сменные из сверхтвердых материалов. Технические условия
Название английское:
Throw away (indexable) cutting superhard inserts. Specifications
Даты и сроки
Дата издания:
04-01-05
Дата введения в действие:
06-30-91
Дата завершения срока действия:
-
Применение и описание
Область и условия применения:
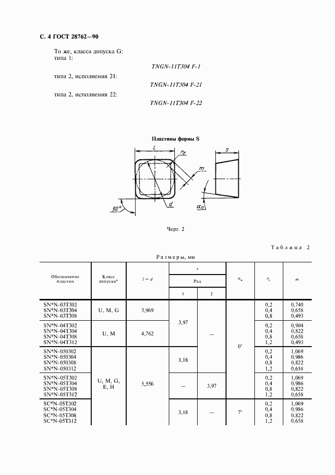
Настоящий стандарт распространяется на режущие сменные пластины из поликристаллических сверхтвердых материалов на основе нитрида бора, предназначенные для механического закрепления в корпусе инструмента
Связи и замены
Заменяющий:
-
Описание стандарта
ГОСТ 28762-90 Пластины режущие сменные из сверхтвердых материалов. Технические условия
Страницы стандарта


























