ГОСТ 8570-80 Шеверы дисковые. Технические условия
ГОСТ
Скачать ГОСТ в PDF или DOC бесплатно
Основная информация
Обозначение:
ГОСТ 8570-80
Статус:
Действует
Тип:
ГОСТ
Название русское:
Шеверы дисковые. Технические условия
Название английское:
Disk shavers. Specifications
Даты и сроки
Дата издания:
09-01-84
Дата введения в действие:
06-30-81
Дата завершения срока действия:
-
Применение и описание
Область и условия применения:
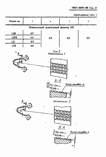
Настоящий стандарт распространяется на дисковые шеверы, предназначенные для обработки цилиндрических зубчатых колес, изготовляемые для нужд народного хозяйства и для экспорта
Связи и замены
Заменяющий:
-
Взамен:
ГОСТ 8570-57
Изменения и переиздания
Список изменений:
№1 от (рег. ) «Срок действия продлен» №2 от (рег. ) «Срок действия продлен» №3 от (рег. ) «Срок действия продлен»
Описание стандарта
ГОСТ 8570-80 Шеверы дисковые. Технические условия
Страницы стандарта




























