ГОСТ 34202-2017 Борфрезы твердосплавные. Технические условия
ГОСТ
Скачать ГОСТ в PDF или DOC бесплатно
Основная информация
Обозначение:
ГОСТ 34202-2017
Статус:
Действует
Тип:
ГОСТ
Название русское:
Борфрезы твердосплавные. Технические условия
Название английское:
Hardmetal burrs. Specifications
Даты и сроки
Дата регистрации:
07-14-17
Дата издания:
08-27-20
Дата введения в действие:
01-01-19
Дата завершения срока действия:
-
Применение и описание
Область и условия применения:
Настоящий стандарт распространяется на твердосплавные борфрезы цельные и с припаянными хвостовиками, предназначенные для черновой и чистовой обработки сталей и чугунов общего назначения и труднообрабатываемых сталей и сплавов
Связи и замены
Заменяющий:
-
Описание стандарта
ГОСТ 34202-2017 Борфрезы твердосплавные. Технические условия
Страницы стандарта

















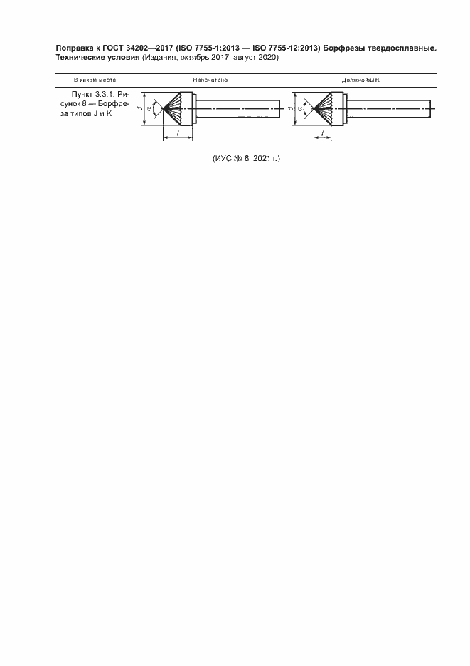
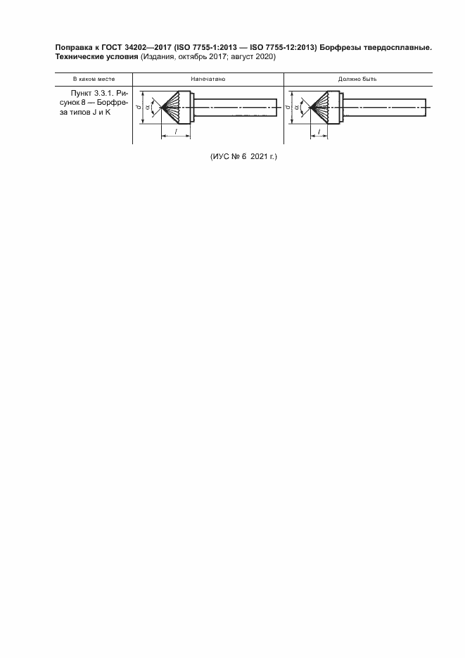
Приложение №1: Поправка к ГОСТ 34202-2017 Обозначение: Поправка к ГОСТ 34202-2017 Дата введения в действие: 24.06.2021
