ГОСТ Р 50560-93 Фрезы, устанавливаемые на центрирующие оправки с конусом 7:24. Присоединительные размеры. Центрирующие оправки
ГОСТ Р
Скачать ГОСТ в PDF или DOC бесплатно
Основная информация
Обозначение:
ГОСТ Р 50560-93
Статус:
Действует
Тип:
ГОСТ Р
Название русское:
Фрезы, устанавливаемые на центрирующие оправки с конусом 7:24. Присоединительные размеры. Центрирующие оправки
Название английское:
Milling cutters mounted on centring arbors having a 7/24 taper. Fitting dimensions. Centring arbors
Даты и сроки
Дата издания:
08-11-93
Дата введения в действие:
06-30-94
Дата завершения срока действия:
-
Применение и описание
Область и условия применения:
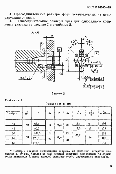
Настоящий стандарт регламентирует присоединительные размеры фрез, устанавливаемых на центрирующих оправках, и размеры центрирующих оправок с конусом 7:24 для центрирования фрез на переднем конце шпинделя. Стандарт распространяется на фрезы со вставными ножами из быстрорежущей стали или с напайными пластинами и на фрезы со сменными твердосплавными пластинами
Связи и замены
Заменяющий:
-
Описание стандарта
ГОСТ Р 50560-93 Фрезы, устанавливаемые на центрирующие оправки с конусом 7:24. Присоединительные размеры. Центрирующие оправки
Страницы стандарта







