ГОСТ Р 51547-2000 Хвостовики инструментов полые конические типа HSK. Основные размеры
ГОСТ Р
Скачать ГОСТ в PDF или DOC бесплатно
Основная информация
Обозначение:
ГОСТ Р 51547-2000
Статус:
Заменен
Тип:
ГОСТ Р
Название русское:
Хвостовики инструментов полые конические типа HSK. Основные размеры
Название английское:
Hollow taper shank with flat contact surface type HSK of tools. Basic dimensions
Даты и сроки
Дата издания:
03-24-00
Дата введения в действие:
01-01-01
Дата завершения срока действия:
07-01-14
Применение и описание
Область и условия применения:
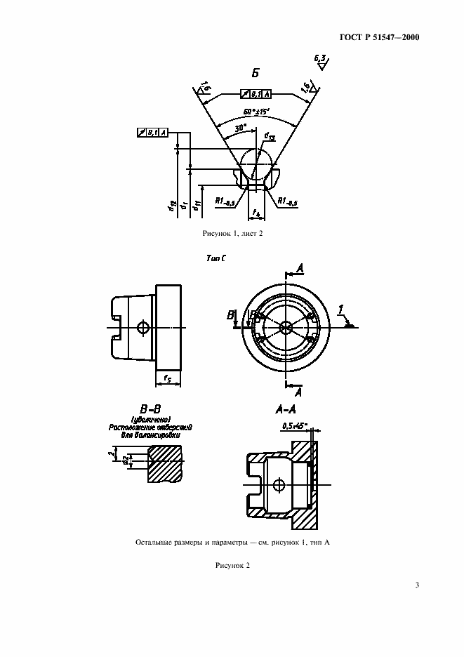
Настоящий стандарт распространяется на полые конические хвостовики типа HSK с прилеганием по плоскости к торцу шпинделя станка, с внутренним подводом смазочно-охлаждающей жидкости
Связи и замены
Заменяющий:
ГОСТ Р ИСО 12164-1-2013
Описание стандарта
ГОСТ Р 51547-2000 Хвостовики инструментов полые конические типа HSK. Основные размеры
Страницы стандарта







