ГОСТ 11790-74 Ложечки с гладилками отделочные. Конструкция
ГОСТ
Скачать ГОСТ в PDF или DOC бесплатно
Основная информация
Обозначение:
ГОСТ 11790-74
Статус:
Действует
Тип:
ГОСТ
Название русское:
Ложечки с гладилками отделочные. Конструкция
Название английское:
Finishing scoops with trowels. Design
Даты и сроки
Дата издания:
01-01-97
Дата введения в действие:
06-30-75
Дата завершения срока действия:
-
Применение и описание
Область и условия применения:
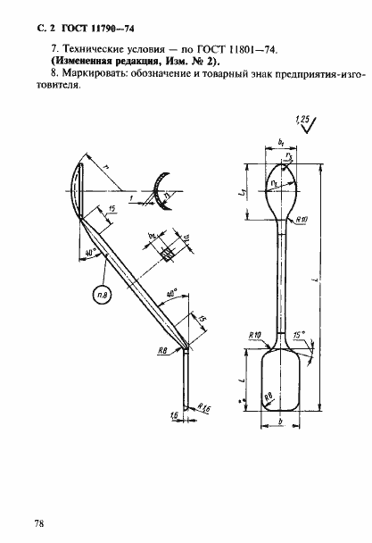
Настоящий стандарт распространяется на отделочные ложечки с гладилками, применяемые для отделки песчаных литейных форм и стержней
Связи и замены
Заменяющий:
-
Взамен:
ГОСТ 11790-66
Изменения и переиздания
Список изменений:
№1 от (рег. ) «Срок действия продлен» №2 от (рег. ) «Срок действия продлен» №3 от (рег. ) «Поправка»
Описание стандарта
ГОСТ 11790-74 Ложечки с гладилками отделочные. Конструкция
Страницы стандарта


