ГОСТ 13124-83 Штампы для листовой штамповки. Блоки штампов с диагональным расположением направляющих узлов скольжения. Конструкция и размеры
ГОСТ
Скачать ГОСТ в PDF или DOC бесплатно
Основная информация
Обозначение:
ГОСТ 13124-83
Статус:
Действует
Тип:
ГОСТ
Название русское:
Штампы для листовой штамповки. Блоки штампов с диагональным расположением направляющих узлов скольжения. Конструкция и размеры
Название английское:
Diagonal post press tool sets for cold plastic working dies. Construction and dimensions
Даты и сроки
Дата издания:
03-01-86
Дата введения в действие:
06-30-84
Дата завершения срока действия:
-
Применение и описание
Область и условия применения:
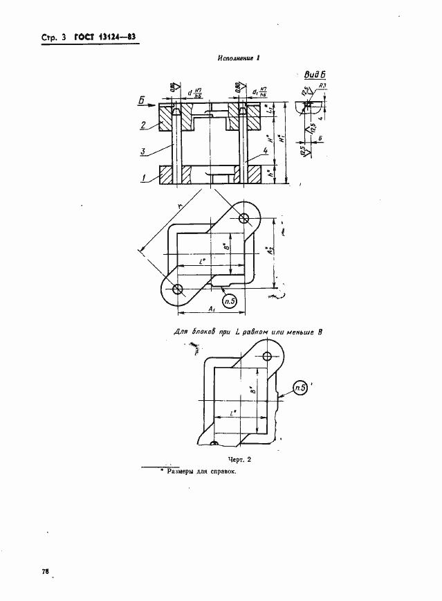
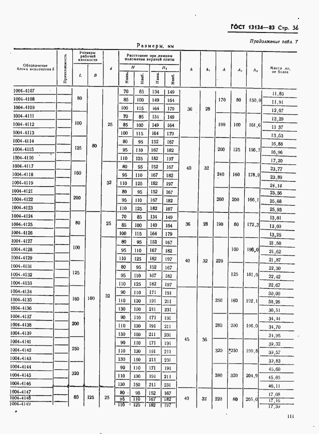
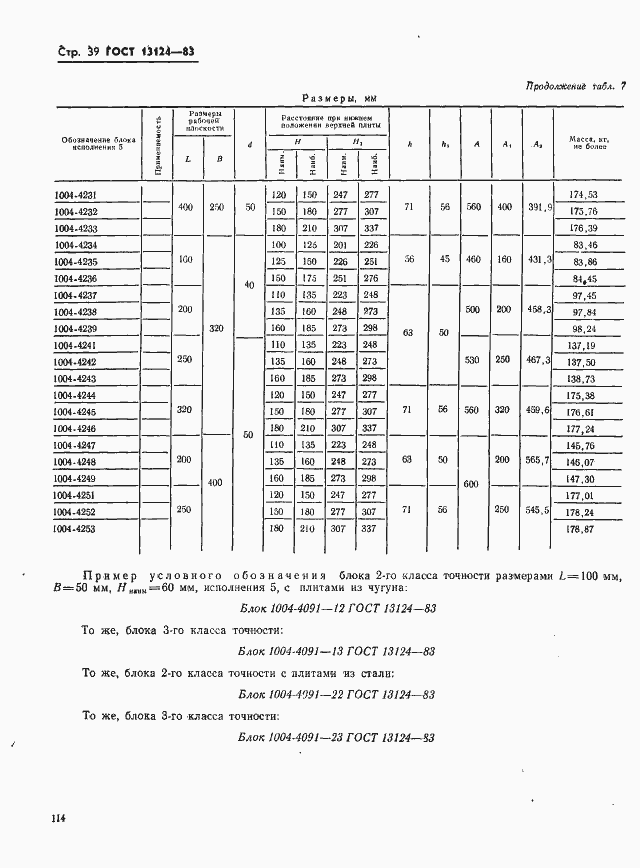
Настоящий стандарт распространяется на блоки штампов с диагональным расположением направляющих узлов скольжения с плитами из чугунного и стального литья
Связи и замены
Заменяющий:
-
Взамен:
ГОСТ 13124-75
Описание стандарта
ГОСТ 13124-83 Штампы для листовой штамповки. Блоки штампов с диагональным расположением направляющих узлов скольжения. Конструкция и размеры
Страницы стандарта
















































