ГОСТ 16234-70 Формы металлические (кокили) вытряхные. Основные размеры
ГОСТ
Скачать ГОСТ в PDF или DOC бесплатно
Основная информация
Обозначение:
ГОСТ 16234-70
Статус:
Действует
Тип:
ГОСТ
Название русское:
Формы металлические (кокили) вытряхные. Основные размеры
Название английское:
Turn-out chill mould. Basic dimensions
Даты и сроки
Дата издания:
05-01-82
Дата введения в действие:
01-01-72
Дата завершения срока действия:
-
Применение и описание
Область и условия применения:
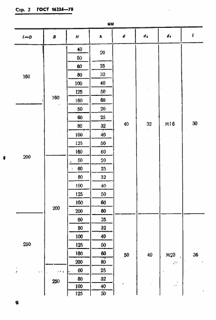
Настоящий стандарт распространяется на металлические формы (вытряхные, створчатые и с параллельным разъемом) и устанавливает основные размеры вытряхных металлических форм
Связи и замены
Заменяющий:
-
Взамен:
МН 742-60
Изменения и переиздания
Список изменений:
№1 от (рег. ) «Срок действия продлен»
Описание стандарта
ГОСТ 16234-70 Формы металлические (кокили) вытряхные. Основные размеры
Страницы стандарта









