ГОСТ 16238-70 Формы металлические (кокили). Ребра жесткости. Размеры
ГОСТ
Скачать ГОСТ в PDF или DOC бесплатно
Основная информация
Обозначение:
ГОСТ 16238-70
Статус:
Действует
Тип:
ГОСТ
Название русское:
Формы металлические (кокили). Ребра жесткости. Размеры
Название английское:
Chill moulds. Ribs of rigidity. Dimensions
Даты и сроки
Дата издания:
05-01-82
Дата введения в действие:
01-01-72
Дата завершения срока действия:
-
Применение и описание
Область и условия применения:
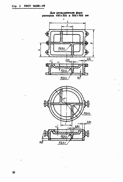
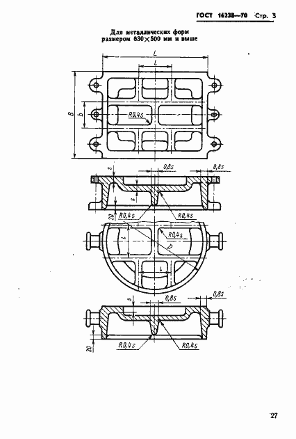
Настоящий стандарт распространяется на металлические формы (вытряхные, створчатые и с параллельным разъемом) и устанавливает размеры и расположение ребер жесткости
Связи и замены
Заменяющий:
-
Взамен:
МН 752-60
Описание стандарта
ГОСТ 16238-70 Формы металлические (кокили). Ребра жесткости. Размеры
Страницы стандарта



