ГОСТ 16247-70 Формы металлические (кокили). Приспособления для выталкивания отливок. Конструкция и размеры
ГОСТ
Скачать ГОСТ в PDF или DOC бесплатно
Основная информация
Обозначение:
ГОСТ 16247-70
Статус:
Действует
Тип:
ГОСТ
Название русское:
Формы металлические (кокили). Приспособления для выталкивания отливок. Конструкция и размеры
Название английское:
Chill moulds. Devices for push of castings. Construction and dimensions
Даты и сроки
Дата издания:
05-01-82
Дата введения в действие:
01-01-72
Дата завершения срока действия:
-
Применение и описание
Область и условия применения:
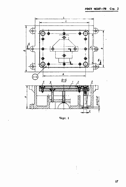
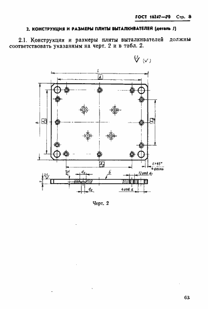
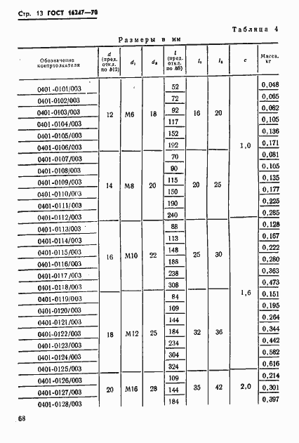
Настоящий стандарт распространяется на приспособления для выталкивания отливок, применяемые в металлических формах с параллельным разъемом, и устанавливает их конструкцию и размеры
Связи и замены
Заменяющий:
-
Взамен:
МН 758-60
Изменения и переиздания
Список изменений:
№1 от (рег. ) «Срок действия продлен»
Описание стандарта
ГОСТ 16247-70 Формы металлические (кокили). Приспособления для выталкивания отливок. Конструкция и размеры
Страницы стандарта













