ГОСТ 16261-70 Формы металлические (кокили). Замки винтовые. Конструкция и размеры
ГОСТ
Скачать ГОСТ в PDF или DOC бесплатно
Основная информация
Обозначение:
ГОСТ 16261-70
Статус:
Действует
Тип:
ГОСТ
Название русское:
Формы металлические (кокили). Замки винтовые. Конструкция и размеры
Название английское:
Chill moulds. Screwed locks. Construction and dimensions
Даты и сроки
Дата издания:
05-01-82
Дата введения в действие:
01-01-72
Дата завершения срока действия:
-
Применение и описание
Область и условия применения:
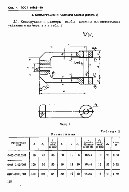
Настоящий стандарт распространяется на винтовые замки, применяемые для скрепления полуформ створчатых кокилей
Связи и замены
Заменяющий:
-
Взамен:
МН 773-60
Изменения и переиздания
Список изменений:
№1 от (рег. ) «Срок действия продлен»
Описание стандарта
ГОСТ 16261-70 Формы металлические (кокили). Замки винтовые. Конструкция и размеры
Страницы стандарта




