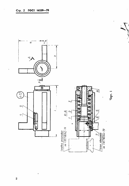
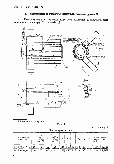
ГОСТ 16339-70 Державки суппортные для роликовых головок на усилия 250 и 500 кгс. Конструкция и размеры
ГОСТ
Скачать ГОСТ в PDF или DOC бесплатно
Основная информация
Обозначение:
ГОСТ 16339-70
Статус:
Действует
Тип:
ГОСТ
Название русское:
Державки суппортные для роликовых головок на усилия 250 и 500 кгс. Конструкция и размеры
Название английское:
Support holders for a 250 and 500 kg force rolling heads. Construction and dimensions
Даты и сроки
Дата издания:
06-01-82
Дата введения в действие:
06-30-71
Дата завершения срока действия:
-
Применение и описание
Область и условия применения:
Настоящий стандарт распространяется на державки суппортные для роликовых головок их конструкции и размеры
Связи и замены
Заменяющий:
-
Взамен:
МН 5836-65
Изменения и переиздания
Список изменений:
№1 от (рег. ) «Срок действия продлен»
Описание стандарта
ГОСТ 16339-70 Державки суппортные для роликовых головок на усилия 250 и 500 кгс. Конструкция и размеры
Страницы стандарта













