ГОСТ 16438-70 Формы песчаная и металлическая для получения проб жидкотекучести металлов
ГОСТ
Скачать ГОСТ в PDF или DOC бесплатно
Основная информация
Обозначение:
ГОСТ 16438-70
Статус:
Действует
Тип:
ГОСТ
Название русское:
Формы песчаная и металлическая для получения проб жидкотекучести металлов
Название английское:
Sand and metal moulds for making of fluidity of metals tects
Даты и сроки
Дата издания:
06-01-99
Дата введения в действие:
01-01-72
Дата завершения срока действия:
-
Применение и описание
Область и условия применения:
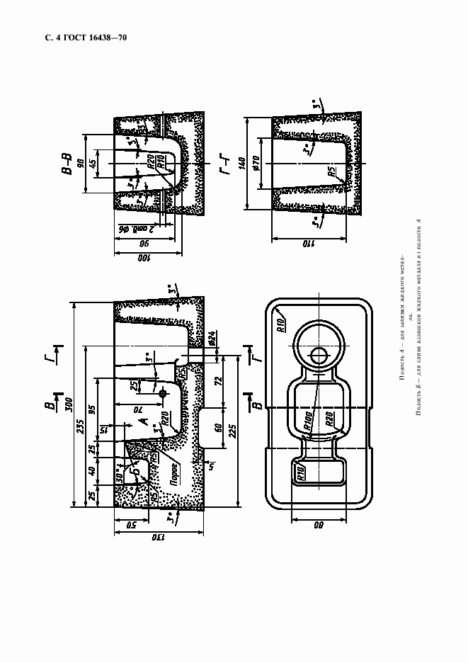
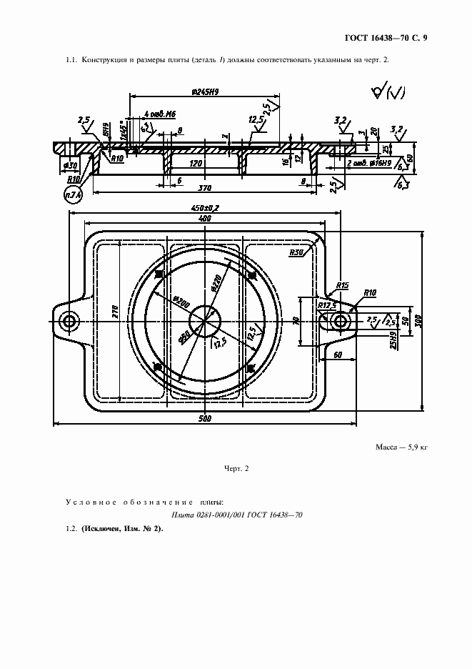
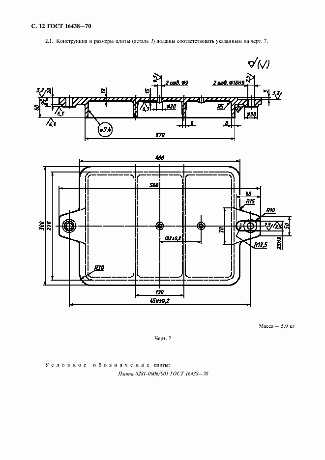
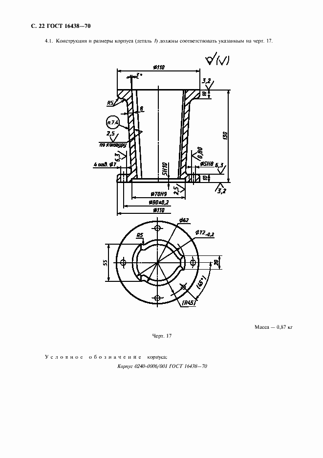
Настоящий стандарт распространяется на песчаные (сухие и сырые) и металлические формы для получения проб жидкотекучести металлов
Связи и замены
Заменяющий:
-
Изменения и переиздания
Список изменений:
№1 от (рег. ) «Срок действия продлен» №2 от (рег. ) «Срок действия продлен»
Описание стандарта
ГОСТ 16438-70 Формы песчаная и металлическая для получения проб жидкотекучести металлов
Страницы стандарта





























