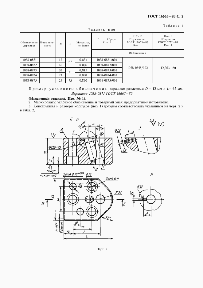
ГОСТ 16665-80 Державки удлиненные с усиленным шариковым креплением пуансонов. Конструкция и размеры
ГОСТ
Скачать ГОСТ в PDF или DOC бесплатно
Основная информация
Обозначение:
ГОСТ 16665-80
Статус:
Действует
Тип:
ГОСТ
Название русское:
Державки удлиненные с усиленным шариковым креплением пуансонов. Конструкция и размеры
Название английское:
Oblong holders with reinforced ball mounting of punches. Construction and dimensions
Даты и сроки
Дата издания:
10-01-99
Дата введения в действие:
01-01-81
Дата завершения срока действия:
-
Применение и описание
Область и условия применения:
Настоящий стандарт распространяется на конструкции и размеры удлиненных державок с усиленным шариковым креплением пуансонов
Связи и замены
Заменяющий:
-
Взамен:
ГОСТ 16665-71
Изменения и переиздания
Список изменений:
№1 от (рег. ) «Срок действия продлен»
Описание стандарта
ГОСТ 16665-80 Державки удлиненные с усиленным шариковым креплением пуансонов. Конструкция и размеры
Страницы стандарта



