ГОСТ 16818-85 Форма песчаная для получения заготовок образцов для испытания механических свойств серого чугуна с пластинчатым графитом. Размеры и технические требования
ГОСТ
Скачать ГОСТ в PDF или DOC бесплатно
Основная информация
Обозначение:
ГОСТ 16818-85
Статус:
Действует
Тип:
ГОСТ
Название русское:
Форма песчаная для получения заготовок образцов для испытания механических свойств серого чугуна с пластинчатым графитом. Размеры и технические требования
Название английское:
Sandform for manufacturing of sample billets for testing the lamellar graphite grey cast iron mechanical properties. Dimensions and technical requirements
Даты и сроки
Дата издания:
05-01-07
Дата введения в действие:
01-01-87
Дата завершения срока действия:
-
Применение и описание
Область и условия применения:
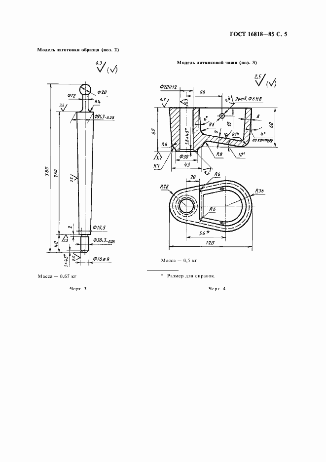
Настоящий стандарт распространяется на песчаную форму для получения заготовок образцов для испытания механических свойств серого чугуна с пластинчатым графитом
Связи и замены
Заменяющий:
-
Взамен:
ГОСТ 16818-71
Описание стандарта
ГОСТ 16818-85 Форма песчаная для получения заготовок образцов для испытания механических свойств серого чугуна с пластинчатым графитом. Размеры и технические требования
Страницы стандарта











