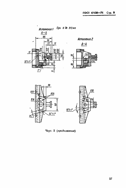
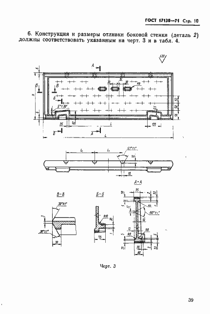
ГОСТ 17130-71 Опоки литейные сварные из литых стальных элементов прямоугольные размерами в свету: длиной от 900 до 1200 мм, шириной 700, 800 мм, высотой от 150 до 400 мм. Конструкция и размеры
ГОСТ
Скачать ГОСТ в PDF или DOC бесплатно
Основная информация
Обозначение:
ГОСТ 17130-71
Статус:
Действует
Тип:
ГОСТ
Название русское:
Опоки литейные сварные из литых стальных элементов прямоугольные размерами в свету: длиной от 900 до 1200 мм, шириной 700, 800 мм, высотой от 150 до 400 мм. Конструкция и размеры
Название английское:
Rectangular weld moulding boxes of cast steel elements having inside dimensions: length from 900 to 1200 mm, width 700; 800 mm, height from 150 to 400 mm. Construction and dimensions
Даты и сроки
Дата издания:
11-23-71
Дата введения в действие:
01-01-73
Дата завершения срока действия:
-
Применение и описание
Область и условия применения:
Настоящий стандарт распространяется на литейные прямоугольные сварные опоки из литых стальных элементов, предназначенные для изготовления песчаных литейных форм при машинной и ручной формовке. Стандарт не распространяется на опоки, применяемые при формовке методом прессования под высоким удельным давлением
Связи и замены
Заменяющий:
-
Взамен в части:
МН 1273-60 в части опок "Н" до 400 мм
Изменения и переиздания
Список изменений:
№1 от (рег. ) «Срок действия продлен» №2 от (рег. ) «Срок действия продлен»
Описание стандарта
ГОСТ 17130-71 Опоки литейные сварные из литых стальных элементов прямоугольные размерами в свету: длиной от 900 до 1200 мм, шириной 700, 800 мм, высотой от 150 до 400 мм. Конструкция и размеры
Страницы стандарта

















