ГОСТ 17663-72 Блоки сменных разделительных штампов листовой штамповки с четырьмя направляющими колонками. Конструкция и размеры
ГОСТ
Скачать ГОСТ в PDF или DOC бесплатно
Основная информация
Обозначение:
ГОСТ 17663-72
Статус:
Действует
Тип:
ГОСТ
Название русское:
Блоки сменных разделительных штампов листовой штамповки с четырьмя направляющими колонками. Конструкция и размеры
Название английское:
Units for changeable sheet stamping cutting dies with four guide posts. Construction and dimensions
Даты и сроки
Дата издания:
03-01-94
Дата введения в действие:
06-30-73
Дата завершения срока действия:
-
Применение и описание
Область и условия применения:
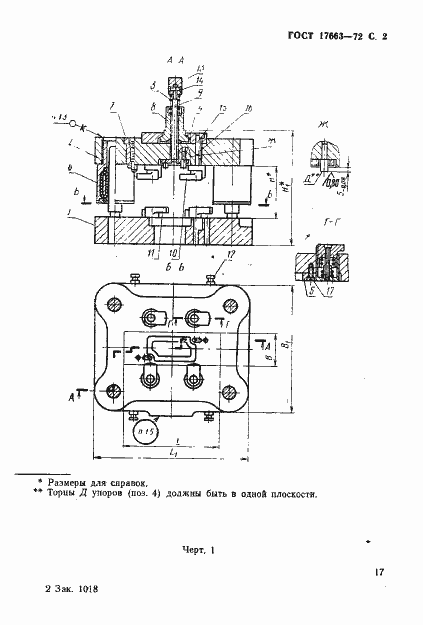
Настоящий стандарт устанавливает конструкцию и размеры блоков сменных разделительных штампов листовой штамповки
Связи и замены
Заменяющий:
-
Изменения и переиздания
Список изменений:
№1 от (рег. ) «Срок действия продлен» №2 от (рег. ) «Срок действия продлен»
Описание стандарта
ГОСТ 17663-72 Блоки сменных разделительных штампов листовой штамповки с четырьмя направляющими колонками. Конструкция и размеры
Страницы стандарта












