ГОСТ 17670-72 Плитки подкладные блоков сменных разделительных штампов листовой штамповки. Конструкция и размеры
ГОСТ
Скачать ГОСТ в PDF или DOC бесплатно
Основная информация
Обозначение:
ГОСТ 17670-72
Статус:
Действует
Тип:
ГОСТ
Название русское:
Плитки подкладные блоков сменных разделительных штампов листовой штамповки. Конструкция и размеры
Название английское:
Intermediate plates of units for changeable sheet stamping dies. Construction and dimensions
Даты и сроки
Дата издания:
03-01-94
Дата введения в действие:
06-30-73
Дата завершения срока действия:
-
Применение и описание
Область и условия применения:
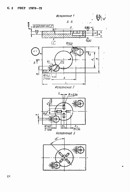
Настоящий стандарт устанавливает конструкцию и размеры плиток подкладных блоков сменных разделительных штампов листовой штамповки
Связи и замены
Заменяющий:
-
Описание стандарта
ГОСТ 17670-72 Плитки подкладные блоков сменных разделительных штампов листовой штамповки. Конструкция и размеры
Страницы стандарта



