ГОСТ 18812-81 Штампы для листовой штамповки. Державки для направляющих ступенчатых колонок и направляющих втулок. Конструкция и размеры
ГОСТ
Скачать ГОСТ в PDF или DOC бесплатно
Основная информация
Обозначение:
ГОСТ 18812-81
Статус:
Действует
Тип:
ГОСТ
Название русское:
Штампы для листовой штамповки. Державки для направляющих ступенчатых колонок и направляющих втулок. Конструкция и размеры
Название английское:
Sheet stamping dies. Holders for guide posts with flute and guide bushes. Design and dimensions
Даты и сроки
Дата издания:
06-01-87
Дата введения в действие:
01-01-82
Дата завершения срока действия:
-
Применение и описание
Область и условия применения:
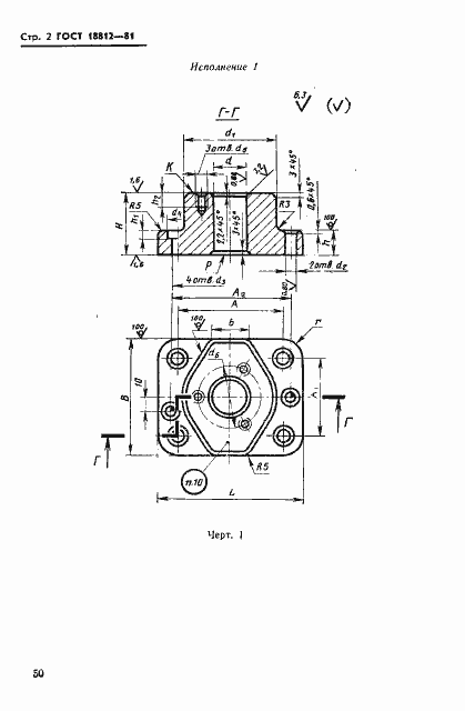
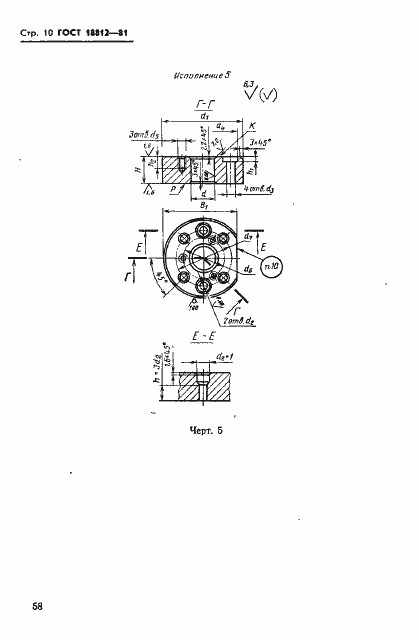
Настоящий стандарт распространяется на державки, применяемые для крепления направляющих ступенчатых колонок по ГОСТ 13119-81, направляющих втулок по ГОСТ 24558-81 в направляющих узлах штампов и устанавливаемые по системе отверстия
Связи и замены
Заменяющий:
-
Взамен:
ГОСТ 18812-73
Изменения и переиздания
Список изменений:
№1 от (рег. ) «Срок действия продлен»
Описание стандарта
ГОСТ 18812-81 Штампы для листовой штамповки. Державки для направляющих ступенчатых колонок и направляющих втулок. Конструкция и размеры
Страницы стандарта













