ГОСТ 18816-80 Штыри транспортные резьбовые. Конструкция и размеры
ГОСТ
Скачать ГОСТ в PDF или DOC бесплатно
Основная информация
Обозначение:
ГОСТ 18816-80
Статус:
Действует
Тип:
ГОСТ
Название русское:
Штыри транспортные резьбовые. Конструкция и размеры
Название английское:
Handling threaded dowel. Design and dimensions
Даты и сроки
Дата издания:
12-01-86
Дата введения в действие:
01-01-82
Дата завершения срока действия:
-
Применение и описание
Область и условия применения:
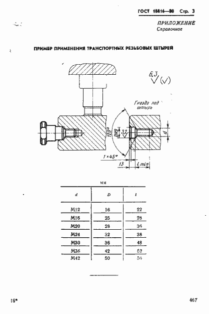
Настоящий стандарт распространяется на штампы листовой штамповки и устанавливает конструкцию и размеры штырей транспортных резьбовых
Связи и замены
Заменяющий:
-
Взамен:
ГОСТ 18816-73
Описание стандарта
ГОСТ 18816-80 Штыри транспортные резьбовые. Конструкция и размеры
Страницы стандарта


