ГОСТ 19372-74 Приливы алюминиевых стержневых ящиков для ручек и скоб. Размеры
ГОСТ
Скачать ГОСТ в PDF или DOC бесплатно
Основная информация
Обозначение:
ГОСТ 19372-74
Статус:
Действует
Тип:
ГОСТ
Название русское:
Приливы алюминиевых стержневых ящиков для ручек и скоб. Размеры
Название английское:
Pads for handles and cramps of aluminium core boxes. Dimensions
Даты и сроки
Дата издания:
08-01-01
Дата введения в действие:
01-01-75
Дата завершения срока действия:
-
Применение и описание
Область и условия применения:
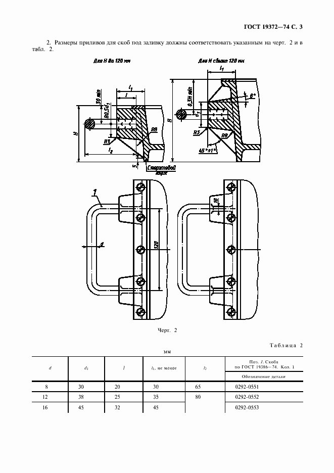
Настоящий стандарт устанавливает размеры приливов алюминиевых стержневых ящиков для ручек и скоб
Связи и замены
Заменяющий:
-
Взамен:
МН 947-60
Изменения и переиздания
Список изменений:
№1 от (рег. ) «Срок действия продлен» №2 от (рег. ) «Срок действия продлен»
Описание стандарта
ГОСТ 19372-74 Приливы алюминиевых стержневых ящиков для ручек и скоб. Размеры
Страницы стандарта






