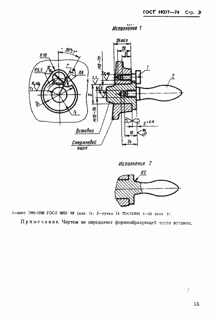
ГОСТ 19377-74 Вставки стержневых ящиков, закрепляемые винтом. Размеры
ГОСТ
Скачать ГОСТ в PDF или DOC бесплатно
Основная информация
Обозначение:
ГОСТ 19377-74
Статус:
Действует
Тип:
ГОСТ
Название русское:
Вставки стержневых ящиков, закрепляемые винтом. Размеры
Название английское:
Screwed inserts of core boxes. Dimensions
Даты и сроки
Дата издания:
04-20-74
Дата введения в действие:
01-01-75
Дата завершения срока действия:
-
Применение и описание
Область и условия применения:
Настоящий стандарт устанавливает размеры вставок стержневых ящиков
Связи и замены
Заменяющий:
-
Взамен:
МН 976-60
Изменения и переиздания
Список изменений:
№1 от (рег. ) «Срок действия продлен» №2 от (рег. ) «Срок действия продлен»
Описание стандарта
ГОСТ 19377-74 Вставки стержневых ящиков, закрепляемые винтом. Размеры
Страницы стандарта


