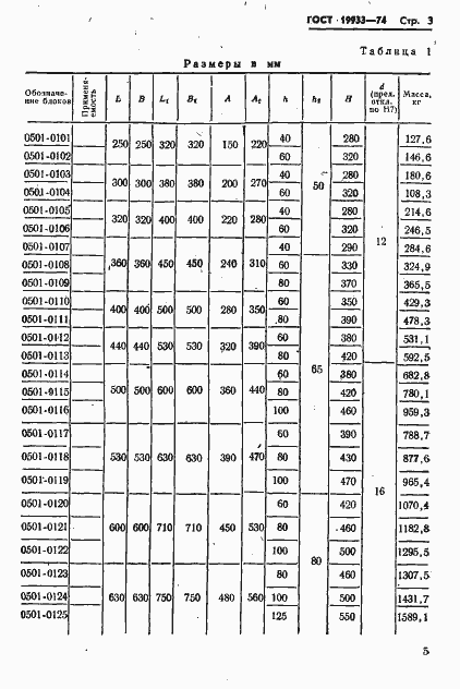
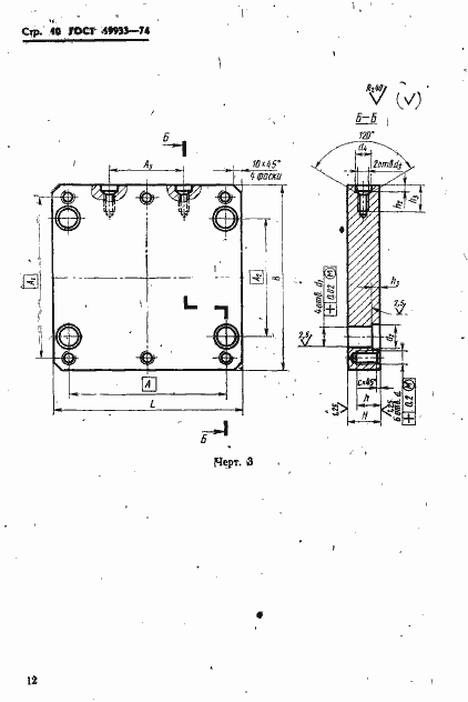
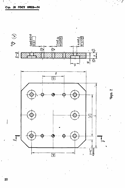
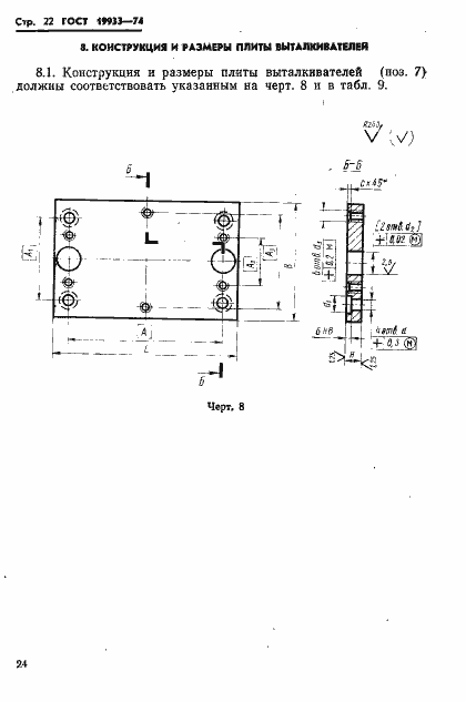
ГОСТ 19933-74 Блоки универсальные пресс-форм литья под давлением. Конструкция и размеры
ГОСТ
Скачать ГОСТ в PDF или DOC бесплатно
Основная информация
Обозначение:
ГОСТ 19933-74
Статус:
Действует
Тип:
ГОСТ
Название русское:
Блоки универсальные пресс-форм литья под давлением. Конструкция и размеры
Название английское:
General-duty units of dies for die casting. Design and dimensions
Даты и сроки
Дата издания:
07-01-82
Дата введения в действие:
06-30-75
Дата завершения срока действия:
-
Применение и описание
Область и условия применения:
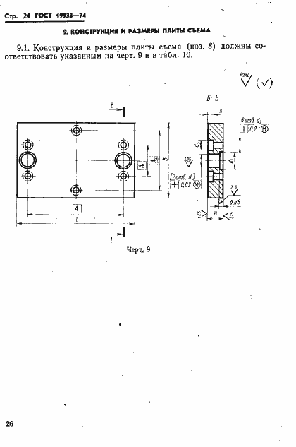
Настоящий стандарт распространяется на универсальные блоки, применяемые при литье под давлением деталей из цветных сплавов на машинах с горизонтальной камерой прессования
Связи и замены
Заменяющий:
-
Взамен:
МН 1555-61
Изменения и переиздания
Список изменений:
№1 от (рег. ) «Срок действия продлен» №2 от (рег. ) «Срок действия продлен»
Описание стандарта
ГОСТ 19933-74 Блоки универсальные пресс-форм литья под давлением. Конструкция и размеры
Страницы стандарта


































