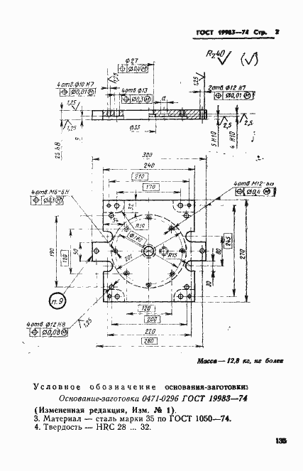
ГОСТ 19983-74 Основание-заготовка пресс-форм для выплавляемых моделей с цилиндрическими матрицами диаметром свыше 190 мм. Конструкция и размеры
ГОСТ
Скачать ГОСТ в PDF или DOC бесплатно
Основная информация
Обозначение:
ГОСТ 19983-74
Статус:
Действует
Тип:
ГОСТ
Название русское:
Основание-заготовка пресс-форм для выплавляемых моделей с цилиндрическими матрицами диаметром свыше 190 мм. Конструкция и размеры
Название английское:
Base-blanks for wax-pattern dies with min 190 mm dia cylinder matrices. Design and dimensions
Даты и сроки
Дата издания:
04-01-82
Дата введения в действие:
01-01-76
Дата завершения срока действия:
-
Применение и описание
Область и условия применения:
Настоящий стандарт распространяется на основание-заготовку, применяемое в бесстержневых пресс-формах и пресс-формах со стержнями, расположенными перпендикулярно к плоскости разъема, устанавливаемых на автоматах для изготовления модельных звеньев в автоматизированном производстве литья по выплавляемым моделям
Связи и замены
Заменяющий:
-
Взамен в части:
МН 4302-63 в части конструкции основания
Изменения и переиздания
Список изменений:
№1 от (рег. ) «Срок действия продлен»
Описание стандарта
ГОСТ 19983-74 Основание-заготовка пресс-форм для выплавляемых моделей с цилиндрическими матрицами диаметром свыше 190 мм. Конструкция и размеры
Страницы стандарта


