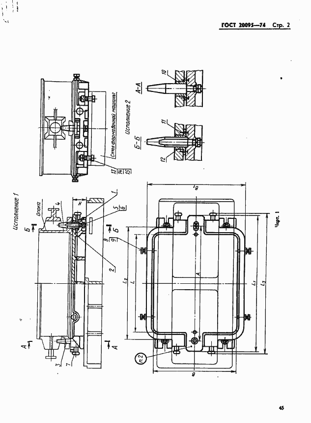
ГОСТ 20095-74 Плиты модельные чугунные со сменными металлическими вкладышами для опок размерами в свету 600х500 мм, 800х700 мм, 1000х800 мм на формовочные литейные машины с поворотом полуформы с допрессовкой. Конструкция и размеры
ГОСТ
Скачать ГОСТ в PDF или DOC бесплатно
Основная информация
Обозначение:
ГОСТ 20095-74
Статус:
Действует
Тип:
ГОСТ
Название русское:
Плиты модельные чугунные со сменными металлическими вкладышами для опок размерами в свету 600х500 мм, 800х700 мм, 1000х800 мм на формовочные литейные машины с поворотом полуформы с допрессовкой. Конструкция и размеры
Название английское:
Iron pattern plates with changeable metal inserts for moulding boxes having inside dimensions 600x500 mm, 800x700 mm, 1000x800 mm moulding foundry machines with turn of half mould with squeezing. Design and dimensions
Даты и сроки
Дата издания:
10-22-74
Дата введения в действие:
01-01-76
Дата завершения срока действия:
-
Применение и описание
Область и условия применения:
Настоящий стандарт устанавливает конструкцию и размеры модельных плит
Связи и замены
Заменяющий:
-
Взамен:
МН 1305-60
Изменения и переиздания
Список изменений:
№1 от (рег. ) «Срок действия продлен»
Описание стандарта
ГОСТ 20095-74 Плиты модельные чугунные со сменными металлическими вкладышами для опок размерами в свету 600х500 мм, 800х700 мм, 1000х800 мм на формовочные литейные машины с поворотом полуформы с допрессовкой. Конструкция и размеры
Страницы стандарта






