ГОСТ 21.606-95 Система проектной документации для строительства. Правила выполнения рабочей документации тепломеханических решений котельных
ГОСТ
Скачать ГОСТ в PDF или DOC бесплатно
Основная информация
Обозначение:
ГОСТ 21.606-95
Статус:
Заменен
Тип:
ГОСТ
Название русское:
Система проектной документации для строительства. Правила выполнения рабочей документации тепломеханических решений котельных
Название английское:
System of design documents for construction. Rules for execution of working documentation of heatmechanical, solutions of boiler rooms
Даты и сроки
Дата регистрации:
04-19-95
Дата издания:
07-01-03
Дата введения в действие:
08-31-95
Дата завершения срока действия:
07-01-17
Применение и описание
Область и условия применения:
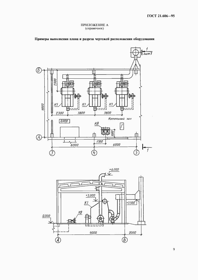
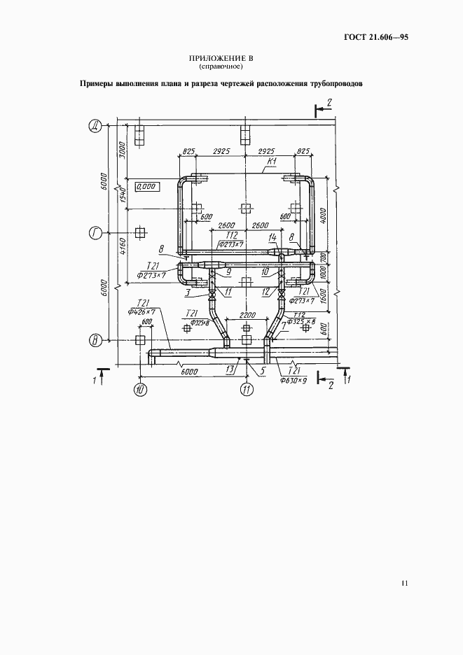
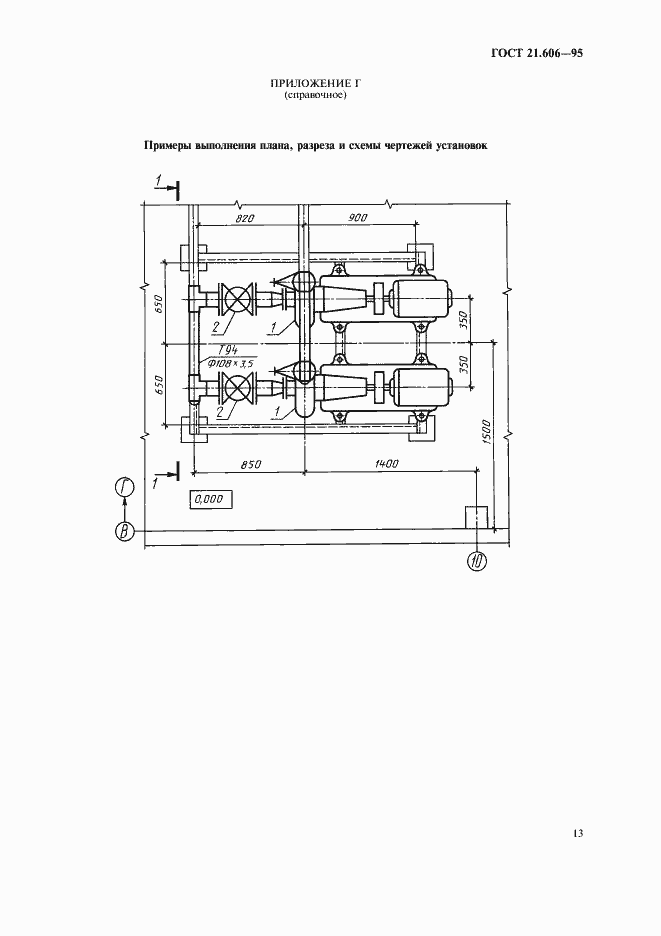
Настоящий стандарт устанавливает состав и правила оформления рабочей документации тепломеханических решений отопительных, отопительно-производственных и производственных котельных
Связи и замены
Заменяющий:
ГОСТ 21.606-2016
Описание стандарта
ГОСТ 21.606-95 Система проектной документации для строительства. Правила выполнения рабочей документации тепломеханических решений котельных
Страницы стандарта















