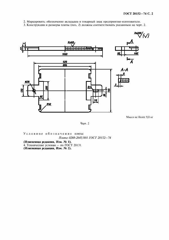
ГОСТ 20152-74 Вкладыш деревянный сменный мелкий длиной 806 мм, шириной 706 мм для модельных плит. Конструкция и размеры
ГОСТ
Скачать ГОСТ в PDF или DOC бесплатно
Основная информация
Обозначение:
ГОСТ 20152-74
Статус:
Действует
Тип:
ГОСТ
Название русское:
Вкладыш деревянный сменный мелкий длиной 806 мм, шириной 706 мм для модельных плит. Конструкция и размеры
Название английское:
Shallow changeable wooden insert by length 806 mm, width 706 mm for pattern plates. Design and dimensions
Даты и сроки
Дата издания:
09-01-00
Дата введения в действие:
06-30-75
Дата завершения срока действия:
-
Применение и описание
Область и условия применения:
Настоящий стандарт устанавливает конструкцию и размеры вкладыша
Связи и замены
Заменяющий:
-
Взамен:
МН 1889-61
Изменения и переиздания
Список изменений:
№1 от (рег. ) «Срок действия продлен» №2 от (рег. ) «Срок действия продлен»
Описание стандарта
ГОСТ 20152-74 Вкладыш деревянный сменный мелкий длиной 806 мм, шириной 706 мм для модельных плит. Конструкция и размеры
Страницы стандарта



