ГОСТ 20162-74 Плиты модельные со сменными деревянными вкладышами для опоки размерами в свету 1200х1000 мм на формовочные литейные машины с поворотом полуформы без допрессовки. Конструкция и размеры
ГОСТ
Скачать ГОСТ в PDF или DOC бесплатно
Основная информация
Обозначение:
ГОСТ 20162-74
Статус:
Действует
Тип:
ГОСТ
Название русское:
Плиты модельные со сменными деревянными вкладышами для опоки размерами в свету 1200х1000 мм на формовочные литейные машины с поворотом полуформы без допрессовки. Конструкция и размеры
Название английское:
Pattern plates with changeable wooden inserts for moulding box having inside dimensions 1200x1000 mm for moulding foundry machines with turn of half mould without squeezing. Design and dimensions
Даты и сроки
Дата издания:
09-01-00
Дата введения в действие:
06-30-75
Дата завершения срока действия:
-
Применение и описание
Область и условия применения:
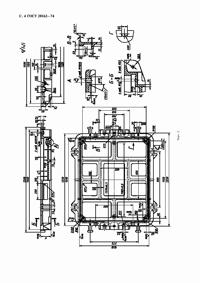
Настоящий стандарт устанавливает конструкцию и размеры модельных плит
Связи и замены
Заменяющий:
-
Изменения и переиздания
Список изменений:
№1 от (рег. ) «Срок действия продлен» №2 от (рег. ) «Срок действия продлен»
Описание стандарта
ГОСТ 20162-74 Плиты модельные со сменными деревянными вкладышами для опоки размерами в свету 1200х1000 мм на формовочные литейные машины с поворотом полуформы без допрессовки. Конструкция и размеры
Страницы стандарта






