ГОСТ 21083-75 Модели литейные металлические. Крепление частей моделей. Конструкция и размеры
ГОСТ
Скачать ГОСТ в PDF или DOC бесплатно
Основная информация
Обозначение:
ГОСТ 21083-75
Статус:
Действует
Тип:
ГОСТ
Название русское:
Модели литейные металлические. Крепление частей моделей. Конструкция и размеры
Название английское:
Metal casting patterns. Securing of pattern pieces. Design and dimensions
Даты и сроки
Дата издания:
09-01-00
Дата введения в действие:
01-01-77
Дата завершения срока действия:
-
Применение и описание
Область и условия применения:
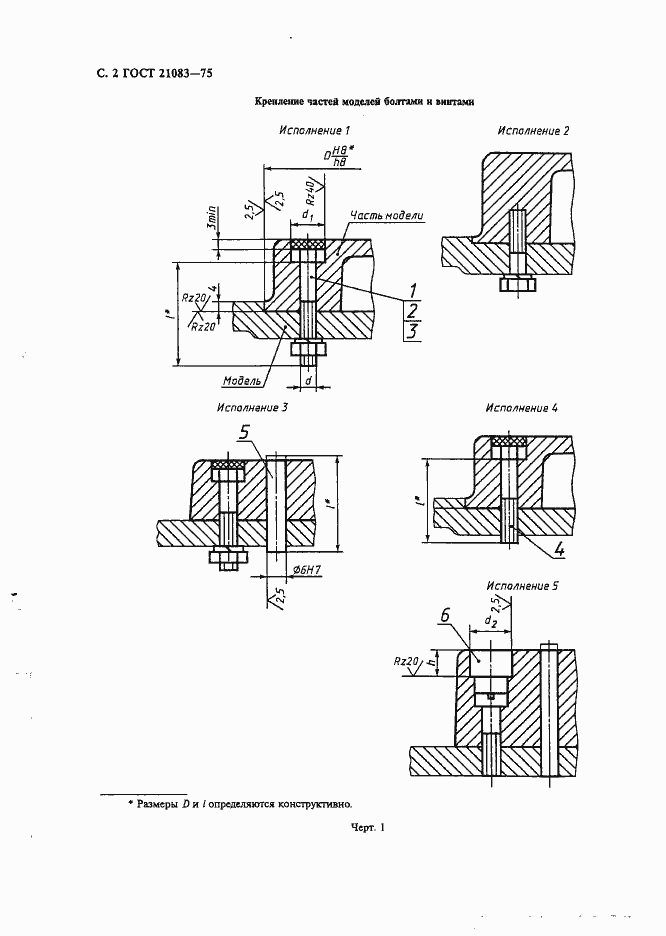
Настоящий стандарт устанавливает конструкцию и размеры креплений частей моделей
Связи и замены
Заменяющий:
-
Взамен:
МН 3528-62;МН 3529-62;МН 3530-62;МН 3531-62
Изменения и переиздания
Список изменений:
№1 от (рег. ) «Срок действия продлен»
Описание стандарта
ГОСТ 21083-75 Модели литейные металлические. Крепление частей моделей. Конструкция и размеры
Страницы стандарта





