ГОСТ 21089-75 Выталкиватели быстросменные для кокилей с жидкостным охлаждением. Конструкция и размеры
ГОСТ
Скачать ГОСТ в PDF или DOC бесплатно
Основная информация
Обозначение:
ГОСТ 21089-75
Статус:
Действует
Тип:
ГОСТ
Название русское:
Выталкиватели быстросменные для кокилей с жидкостным охлаждением. Конструкция и размеры
Название английское:
Quick detachable pushers for chill moulds with fluid cooling. Construction and dimensions
Даты и сроки
Дата издания:
11-01-75
Дата введения в действие:
01-01-77
Дата завершения срока действия:
-
Применение и описание
Область и условия применения:
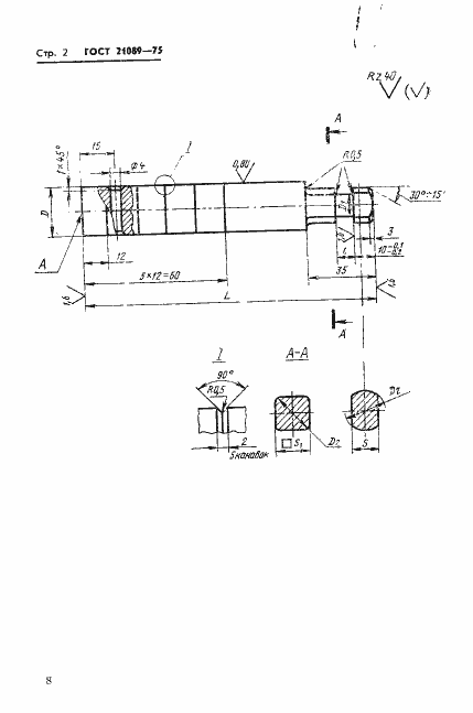
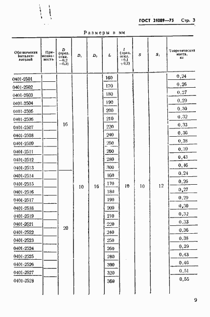
Настоящий стандарт устанавливает конструкцию и размеры быстросменных выталкивателей
Связи и замены
Заменяющий:
-
Изменения и переиздания
Список изменений:
№1 от (рег. ) «Срок действия продлен»
Описание стандарта
ГОСТ 21089-75 Выталкиватели быстросменные для кокилей с жидкостным охлаждением. Конструкция и размеры
Страницы стандарта









