ГОСТ 3.1105-2011 Единая система технологической документации. Формы и правила оформления документов общего назначения
ГОСТ
Скачать ГОСТ в PDF или DOC бесплатно
Основная информация
Обозначение:
ГОСТ 3.1105-2011
Статус:
Действует
Тип:
ГОСТ
Название русское:
Единая система технологической документации. Формы и правила оформления документов общего назначения
Название английское:
Unified system of technological documentation. Form and rules of making general-purpose documents
Даты и сроки
Дата регистрации:
05-12-11
Дата издания:
09-30-20
Дата введения в действие:
01-01-12
Дата завершения срока действия:
-
Применение и описание
Область и условия применения:
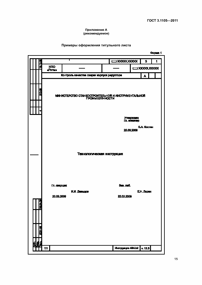
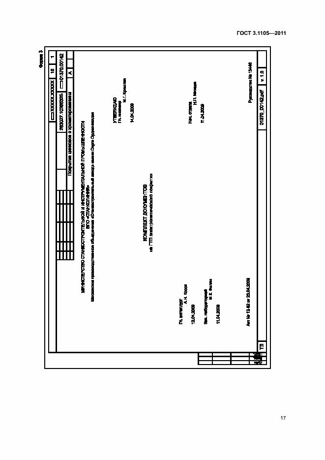
Настоящий стандарт устанавливает формы и правила оформления технологических документов общего назначения: титульного листа, технологической инструкции и карты эскизов, разрабатываемых с применением различных методов проектирования. На основе настоящего стандарта допускается, при необходимости, разрабатывать стандарты с учетом особенностей применения и обращения указанных документов в организации (предприятии)
Связи и замены
Заменяющий:
-
Взамен:
ГОСТ 3.1105-84
Изменения и переиздания
Список изменений:
№0 от (рег. ) «Дата введения перенесена»
Описание стандарта
ГОСТ 3.1105-2011 Единая система технологической документации. Формы и правила оформления документов общего назначения
Страницы стандарта




























Приложение №1: Поправка к ГОСТ 3.1105-2011 Обозначение: Поправка к ГОСТ 3.1105-2011 Дата введения в действие: 25.09.2012

Приложение №2: Поправка к ГОСТ 3.1105-2011 Обозначение: Поправка к ГОСТ 3.1105-2011 Дата введения в действие: 12.03.2021
