ГОСТ 22475-77 Крепления болтовые для координатных модельных плит. Конструкция и размеры
ГОСТ
Скачать ГОСТ в PDF или DOC бесплатно
Основная информация
Обозначение:
ГОСТ 22475-77
Статус:
Действует
Тип:
ГОСТ
Название русское:
Крепления болтовые для координатных модельных плит. Конструкция и размеры
Название английское:
Bolt fixtures for master pattern plates. Design and dimensions
Даты и сроки
Дата издания:
03-01-01
Дата введения в действие:
06-30-78
Дата завершения срока действия:
-
Применение и описание
Область и условия применения:
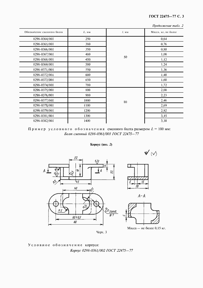
Настоящий стандарт устанавливает конструкцию и размеры болтовых креплений для координатных модельных плит
Связи и замены
Заменяющий:
-
Изменения и переиздания
Список изменений:
№1 от (рег. ) «Срок действия продлен» №2 от (рег. ) «Срок действия продлен»
Описание стандарта
ГОСТ 22475-77 Крепления болтовые для координатных модельных плит. Конструкция и размеры
Страницы стандарта






