ГОСТ 22957-78 Профили стенок литейных цельнолитых стальных и чугунных опок. Конструкция и размеры
ГОСТ
Скачать ГОСТ в PDF или DOC бесплатно
Основная информация
Обозначение:
ГОСТ 22957-78
Статус:
Действует
Тип:
ГОСТ
Название русское:
Профили стенок литейных цельнолитых стальных и чугунных опок. Конструкция и размеры
Название английское:
Wall profiles of all-cast steel and iron moulding boxes. Construction and dimensions
Даты и сроки
Дата издания:
05-23-78
Дата введения в действие:
01-01-79
Дата завершения срока действия:
-
Применение и описание
Область и условия применения:
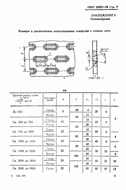
Настоящий стандарт распространяется на литейные цельнолитые стальные и чугунные опоки, предназначенные для изготовления песчаных литейных форм машинной, ручной и пескометной формовкой. Стандарт не распространяется на опоки, применяемые при формовке различными методами силового уплотнения смеси под давление свыше 5х10 в ст. 5 Па, а также на опоки для автоматических и комплексно-механизированных линий в части конструктивных элементов, непосредственно соприкасающихся с элементами линий
Связи и замены
Заменяющий:
-
Взамен:
МН 139-59;МН 141-59;МН 142-59
Изменения и переиздания
Список изменений:
№1 от (рег. ) «Срок действия продлен»
Описание стандарта
ГОСТ 22957-78 Профили стенок литейных цельнолитых стальных и чугунных опок. Конструкция и размеры
Страницы стандарта














