ГОСТ 22962-78 Ушки литейных цельнолитых стальных и чугунных опок под центрирующие и направляющие втулки. Конструкция и размеры
ГОСТ
Скачать ГОСТ в PDF или DOC бесплатно
Основная информация
Обозначение:
ГОСТ 22962-78
Статус:
Действует
Тип:
ГОСТ
Название русское:
Ушки литейных цельнолитых стальных и чугунных опок под центрирующие и направляющие втулки. Конструкция и размеры
Название английское:
Lugs of all-cast steel and iron moulding boxes for centering and guide bushes. Construction and dimensions
Даты и сроки
Дата издания:
05-23-78
Дата введения в действие:
01-01-79
Дата завершения срока действия:
-
Применение и описание
Область и условия применения:
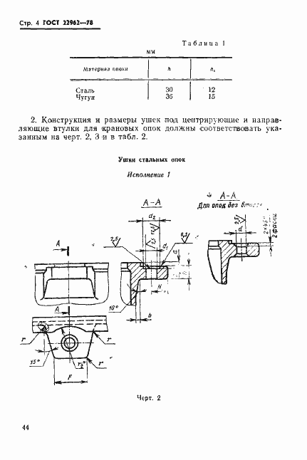
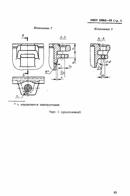
Настоящий стандарт устанавливает конструкцию и размеры ушек под центрирующие и направляющие втулки для ручных опок
Связи и замены
Заменяющий:
-
Взамен:
МН 155-59
Описание стандарта
ГОСТ 22962-78 Ушки литейных цельнолитых стальных и чугунных опок под центрирующие и направляющие втулки. Конструкция и размеры
Страницы стандарта










