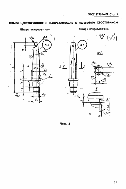
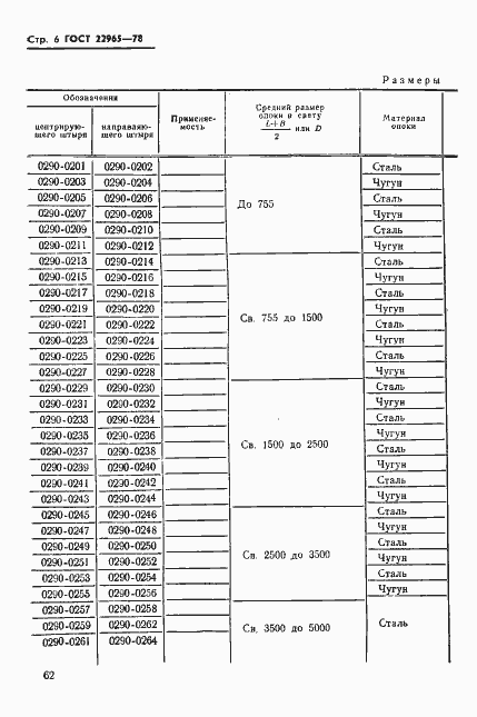
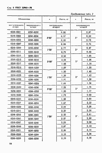
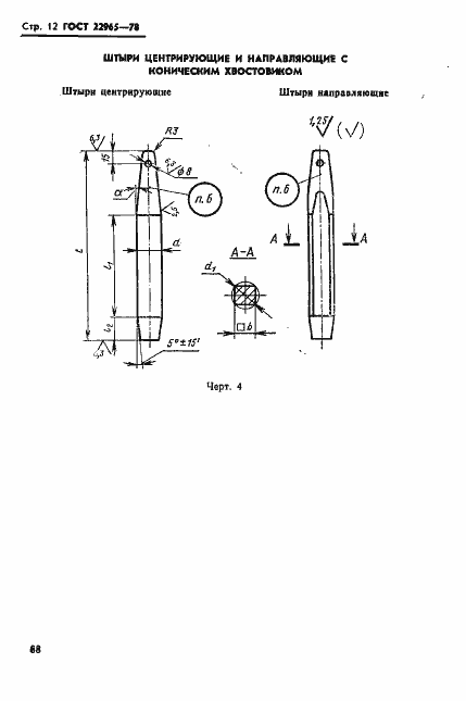
ГОСТ 22965-78 Штыри для литейных опок. Конструкция и размеры
ГОСТ
Скачать ГОСТ в PDF или DOC бесплатно
Основная информация
Обозначение:
ГОСТ 22965-78
Статус:
Действует
Тип:
ГОСТ
Название русское:
Штыри для литейных опок. Конструкция и размеры
Название английское:
Pins for moulding boxes. Construction and dimensions
Даты и сроки
Дата издания:
05-23-78
Дата введения в действие:
01-01-79
Дата завершения срока действия:
-
Применение и описание
Область и условия применения:
Настоящий стандарт устанавливает конструкцию и размеры центрирующих и направляющих штырей
Связи и замены
Заменяющий:
-
Взамен:
МН 154-59;МН 159-59
Изменения и переиздания
Список изменений:
№1 от (рег. ) «Срок действия продлен»
Описание стандарта
ГОСТ 22965-78 Штыри для литейных опок. Конструкция и размеры
Страницы стандарта


















