ГОСТ 25919-83 Штампы для листовой штамповки. Блоки штампов с промежуточной плитой с четырьмя направляющими узлами скольжения. Конструкция и размеры
ГОСТ
Скачать ГОСТ в PDF или DOC бесплатно
Основная информация
Обозначение:
ГОСТ 25919-83
Статус:
Действует
Тип:
ГОСТ
Название русское:
Штампы для листовой штамповки. Блоки штампов с промежуточной плитой с четырьмя направляющими узлами скольжения. Конструкция и размеры
Название английское:
Sheet stamping dies. Die sets with intermediate plate with four guide sliding assemblies. Design and dimensions
Даты и сроки
Дата издания:
12-12-83
Дата введения в действие:
06-30-84
Дата завершения срока действия:
-
Применение и описание
Область и условия применения:
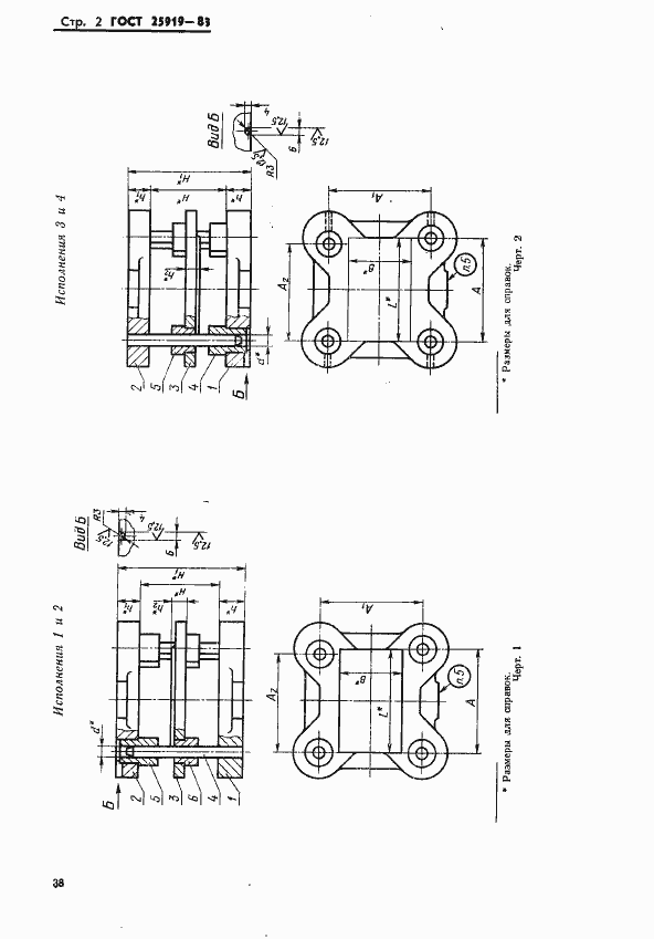
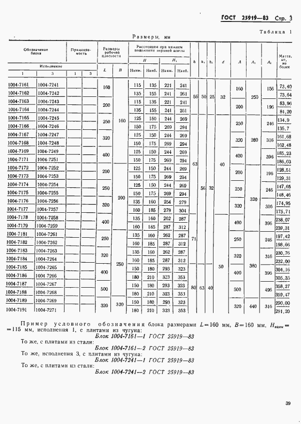
Настоящий стандарт распространяется на блоки с промежуточной плитой с четырьмя направляющими узлами скольжения для штампов совмещенного действия и для штампов с верхним прижимом с плитами из чугунного и стального литья
Связи и замены
Заменяющий:
-
Описание стандарта
ГОСТ 25919-83 Штампы для листовой штамповки. Блоки штампов с промежуточной плитой с четырьмя направляющими узлами скольжения. Конструкция и размеры
Страницы стандарта







