ГОСТ 26395-84 Инструмент для холодновысадочных автоматов. Ножи с твердосплавной вставкой для отрезки заготовок болтов с длиной стержня изделия свыше 5 диаметров. Конструкция и размеры
ГОСТ
Скачать ГОСТ в PDF или DOC бесплатно
Основная информация
Обозначение:
ГОСТ 26395-84
Статус:
Действует
Тип:
ГОСТ
Название русское:
Инструмент для холодновысадочных автоматов. Ножи с твердосплавной вставкой для отрезки заготовок болтов с длиной стержня изделия свыше 5 диаметров. Конструкция и размеры
Название английское:
Tools for cold upset automatic machines. Hard alloy in sert cutters for cutting off bolt blanks with shank length above five diameters. Construction and dimensions
Даты и сроки
Дата издания:
07-30-85
Дата введения в действие:
06-30-86
Дата завершения срока действия:
-
Применение и описание
Область и условия применения:
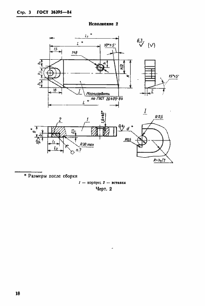
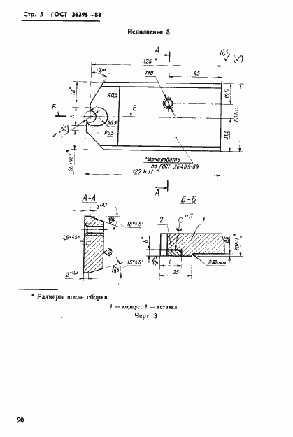
Настоящий стандарт распространяется на ножи к двухударным автоматам для отрезки заготовок болтов номинальным диаметром резьбы от 4 до 20 мм
Связи и замены
Заменяющий:
-
Изменения и переиздания
Список изменений:
№1 от (рег. ) «Срок действия продлен»
Описание стандарта
ГОСТ 26395-84 Инструмент для холодновысадочных автоматов. Ножи с твердосплавной вставкой для отрезки заготовок болтов с длиной стержня изделия свыше 5 диаметров. Конструкция и размеры
Страницы стандарта













