ГОСТ 26403-84 Инструмент для холодновысадочных автоматов. Матрицы обрезные. Конструкция и размеры
ГОСТ
Скачать ГОСТ в PDF или DOC бесплатно
Основная информация
Обозначение:
ГОСТ 26403-84
Статус:
Действует
Тип:
ГОСТ
Название русское:
Инструмент для холодновысадочных автоматов. Матрицы обрезные. Конструкция и размеры
Название английское:
Tools for cold upset automatic machines. Trim dies. Construction and dimensions
Даты и сроки
Дата издания:
07-30-85
Дата введения в действие:
06-30-86
Дата завершения срока действия:
-
Применение и описание
Область и условия применения:
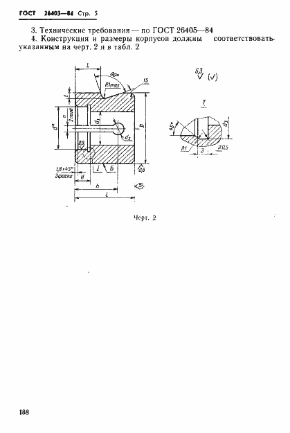
Настоящий стандарт распространяется на матрицы для образования шестигранника на заготовках болтов номинальным диаметром резьбы от 4 до 20 мм
Связи и замены
Заменяющий:
-
Изменения и переиздания
Список изменений:
№1 от (рег. ) «Срок действия продлен»
Описание стандарта
ГОСТ 26403-84 Инструмент для холодновысадочных автоматов. Матрицы обрезные. Конструкция и размеры
Страницы стандарта









