ГОСТ 26505-85 Инструмент для холодноштамповочных автоматов. Ножи отрезные. Конструкция и размеры
ГОСТ
Скачать ГОСТ в PDF или DOC бесплатно
Основная информация
Обозначение:
ГОСТ 26505-85
Статус:
Действует
Тип:
ГОСТ
Название русское:
Инструмент для холодноштамповочных автоматов. Ножи отрезные. Конструкция и размеры
Название английское:
Tools for cold-forming machines. Gutters Construction and dimensions
Даты и сроки
Дата издания:
10-29-85
Дата введения в действие:
06-30-87
Дата завершения срока действия:
-
Применение и описание
Область и условия применения:
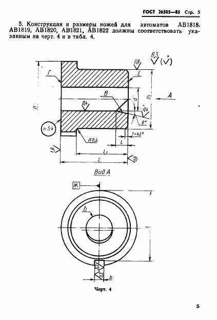
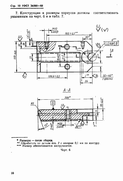
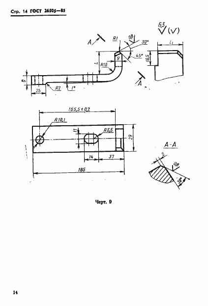
Настоящий стандарт распространяется на отрезные ножи с твердосплавными вставками для отрезки заготовок гаек номинальным диаметром резьбы от 4 до 20 мм
Связи и замены
Заменяющий:
-
Изменения и переиздания
Список изменений:
№1 от (рег. ) «Срок действия продлен»
Описание стандарта
ГОСТ 26505-85 Инструмент для холодноштамповочных автоматов. Ножи отрезные. Конструкция и размеры
Страницы стандарта



















