ГОСТ 26512-85 Инструмент для холодноштамповочных автоматов. Пуансоны первого перехода. Конструкция и размеры
ГОСТ
Скачать ГОСТ в PDF или DOC бесплатно
Основная информация
Обозначение:
ГОСТ 26512-85
Статус:
Действует
Тип:
ГОСТ
Название русское:
Инструмент для холодноштамповочных автоматов. Пуансоны первого перехода. Конструкция и размеры
Название английское:
Tools for cold-forming machines. 1St station punches. Construction and dimensions
Даты и сроки
Дата издания:
10-29-85
Дата введения в действие:
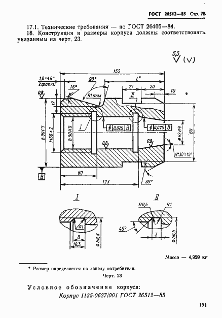
06-30-87
Дата завершения срока действия:
-
Применение и описание
Область и условия применения:
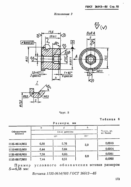
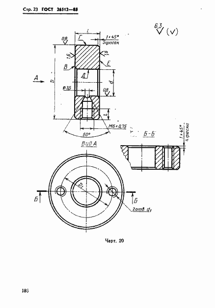
Настоящий стандарт распространяется на пуансоны первого перехода к автоматам для высадки заготовок гаек номинальным диаметром резьбы от 4 до 20 мм
Связи и замены
Заменяющий:
-
Изменения и переиздания
Список изменений:
№1 от (рег. ) «Срок действия продлен»
Описание стандарта
ГОСТ 26512-85 Инструмент для холодноштамповочных автоматов. Пуансоны первого перехода. Конструкция и размеры
Страницы стандарта






































