ГОСТ 1184-80 Стамески плоские и полукруглые. Технические условия
ГОСТ
Скачать ГОСТ в PDF или DOC бесплатно
Основная информация
Обозначение:
ГОСТ 1184-80
Статус:
Действует
Тип:
ГОСТ
Название русское:
Стамески плоские и полукруглые. Технические условия
Название английское:
Woodworking chisels and jouges
Даты и сроки
Дата издания:
03-01-94
Дата введения в действие:
01-01-82
Дата завершения срока действия:
-
Применение и описание
Область и условия применения:
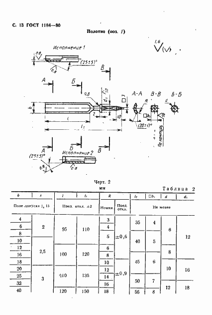
Настоящий стандарт распространяется на плоские стамески, предназначенные для выработки и зачистки гнезд, пазов, шипов, снятия фасок, и полукруглые стамески, предназначенные для выборки и зачистки закругленных шипов и обработки вогнутых и выпуклых поверхностей при выполнении столярных работ по деревообработке
Связи и замены
Заменяющий:
-
Взамен:
ГОСТ 1184-69
Изменения и переиздания
Список изменений:
№1 от (рег. ) «Срок действия продлен» №2 от (рег. ) «Срок действия продлен» №3 от (рег. ) «Срок действия продлен»
Описание стандарта
ГОСТ 1184-80 Стамески плоские и полукруглые. Технические условия
Страницы стандарта















