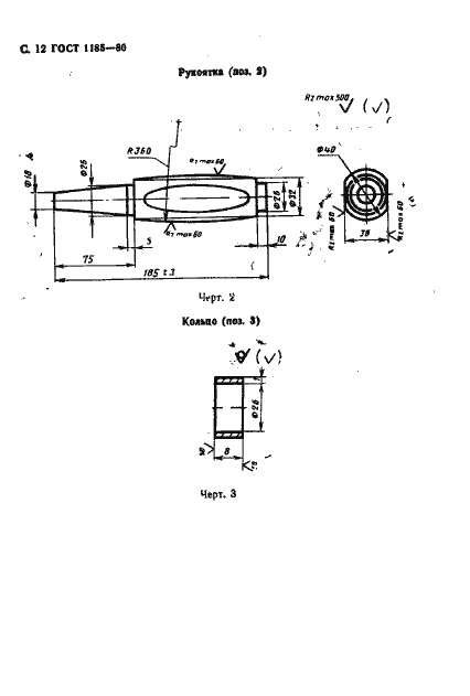
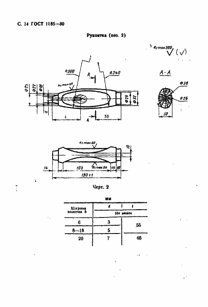
ГОСТ 1185-80 Долота плотничные и столярные. Технические условия
ГОСТ
Скачать ГОСТ в PDF или DOC бесплатно
Основная информация
Обозначение:
ГОСТ 1185-80
Статус:
Действует
Тип:
ГОСТ
Название русское:
Долота плотничные и столярные. Технические условия
Название английское:
Carpenters and joiner chisels
Даты и сроки
Дата издания:
04-01-89
Дата введения в действие:
01-01-82
Дата завершения срока действия:
-
Применение и описание
Область и условия применения:
Настоящий стандарт распространяется на плотничные и столярные долота, предназначенные для чернового образования гнезд и пазов в деталях из древесины при выполнении плотничных и столярных работ
Связи и замены
Заменяющий:
-
Взамен:
ГОСТ 1185-69
Изменения и переиздания
Список изменений:
№1 от (рег. ) «Срок действия продлен» №2 от (рег. ) «Срок действия продлен»
Описание стандарта
ГОСТ 1185-80 Долота плотничные и столярные. Технические условия
Страницы стандарта

















