ГОСТ 13682-80 Места под ключи гаечные. Размеры
ГОСТ
Скачать ГОСТ в PDF или DOC бесплатно
Основная информация
Обозначение:
ГОСТ 13682-80
Статус:
Действует
Тип:
ГОСТ
Название русское:
Места под ключи гаечные. Размеры
Название английское:
Width across flats. Dimensions
Даты и сроки
Дата издания:
07-01-94
Дата введения в действие:
06-30-81
Дата завершения срока действия:
-
Применение и описание
Область и условия применения:
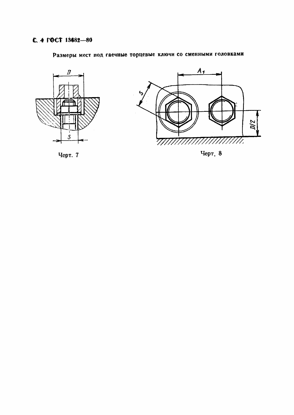
Настоящий стандарт устанавливает наименьшие размеры мест под головки гаечных ключей с открытым зевом, гаечных кольцевых двусторонних коленчатых ключей и гаечных торцовых ключей со сменными головками
Связи и замены
Заменяющий:
-
Взамен:
ГОСТ 13682-68
Описание стандарта
ГОСТ 13682-80 Места под ключи гаечные. Размеры
Страницы стандарта






