ГОСТ 16983-80 Ключи гаечные комбинированные. Конструкция и размеры
ГОСТ
Скачать ГОСТ в PDF или DOC бесплатно
Основная информация
Обозначение:
ГОСТ 16983-80
Статус:
Действует
Тип:
ГОСТ
Название русское:
Ключи гаечные комбинированные. Конструкция и размеры
Название английское:
Combination spanners. Construction and dimensions
Даты и сроки
Дата издания:
09-01-86
Дата введения в действие:
01-01-81
Дата завершения срока действия:
-
Применение и описание
Область и условия применения:
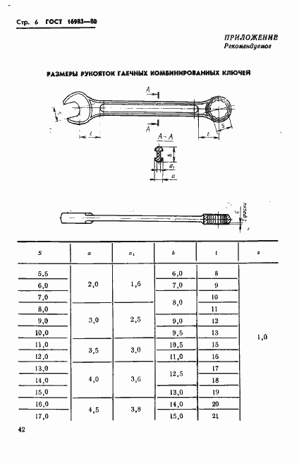
Настоящий стандарт распространяется на гаечные комбинированные ключи с открытым и кольцевым зевами размерами от 5,5 до 55 мм, изготовляемые для нужд народного хозяйства и для экспорта
Связи и замены
Заменяющий:
-
Взамен:
ГОСТ 16983-71
Изменения и переиздания
Список изменений:
№0 от (рег. ) «Дата введения перенесена» №1 от (рег. ) «Срок действия продлен»
Описание стандарта
ГОСТ 16983-80 Ключи гаечные комбинированные. Конструкция и размеры
Страницы стандарта









Приложение №2: Поправка к ГОСТ 16983-80 Обозначение: Поправка к ГОСТ 16983-80 Дата введения в действие: 01.11.2009
